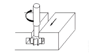
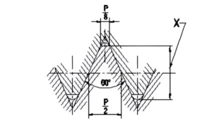
Machinist First Year CBT Paper – Free Practice Set -06By itikegyani.com / July 25, 2025 0% 0 यह पेपर 2 घंटे का है 2 घंटे बाद पेपर अपने आप सबमिट हो जायेगा और आप चाहें तो 2 घंटे से पहले भी सबमिट कर सकते है|सॉरी समय समाप्त हो गया|Machinist First Year CBT Paper (Quiz -6)इस पेपर में 75 प्रशन है जिसमे Trade Tehory के 50 प्रशन, Employability Skill के 25 प्रशन , प्रत्येक प्रशन 2 मार्क्स का है और किसी प्रकार की नेगेटिव मार्किंग नहीं है| (Workshop Calculation and Science और Engineering Drawing इसमें आती नहीं) 1 / 75 Category: Employability Skill CBT Paper (II)1. Which one is a search engine?| कौन एक सर्च इंजन है? A. Flicker | फ़्लिकर B. Face book | फेसबुक C. Google | गूगल D. Hotmail | हॉटमेल 2 / 75 Category: Machanist First Year CBT Paper (TT)1. Which instrument has this type of measuring anvils ? | किस उपकरण में मापन हेतु इस प्रकार की निहाई दी जाती है? A. Digital micrometer | डिजिटल माइक्रोमीटर B. Tubular micrometer | ट॒यूबुलर माइक्रोमीटर C. Screw thread micrometer | स्क्रू थ्रेड माइक्रोमीटर D. Ball micrometer | बॉल माइक्रोमीटर 3 / 75 Category: Machanist First Year CBT Paper (TT)2. What is the grade of file used for rapid and larger quantity of metal removal? | धातु हटाने की तीव्र और बड़ी मात्रा के लिए उपयोग की जाने वाली फ़ाइल का ग्रेड क्या है? A. Second cut file | सेकंड कट फाइल B. Bastard file | बास्टर्ड फ़ाइल C. Rough file | रफ फ़ाइल D. Smooth file | स्मूथ फ़ाइल 4 / 75 Category: Machanist First Year CBT Paper (TT)3. What is the purpose of counter sinks with pilot? | पायलट के साथ काउंटर सिंक का उद्देश्य क्या है? A. To align with drilled hole | ड्रिल किए गए छेद के साथ संरेखित करने के लिए B. Light duty works | लाइट ड्यूटी काम करती है C. Medium size holes | मध्यम आकार के छेद D. For rough works | मोटे कामों के लिए 5 / 75 Category: Machanist First Year CBT Paper (TT)4. What is the element of V thread marked as X? | V थ्रेड का तत्व X के रूप में चिह्नित किया गया है। A. Root | रूट B. Crest | क्रेस्ट C. Depth of thread | थ्रेड की गहरा D. Major diameter | प्रमुख व्यास 6 / 75 Category: Machanist First Year CBT Paper (TT)5. What is the name of the part marked as X? | The X के रूप में चिह्नित भाग का नाम क्या है? A. Ram | रैम B. Bed | बिस्तर C. Saddle | सैडल D. Cross slide | पार स्लाइड 7 / 75 Category: Machanist First Year CBT Paper (TT)6. What is the name of milling operation? | मिलिंग ऑपरेशन का नाम क्या है? A. Dovetail milling | कबूतर मिलिंग B. Concave milling | अवतल मिलिंग C. T’ slot milling | टी 'स्लॉट मिलिंग D. Convex milling | उत्तल मिलिंग 8 / 75 Category: Machanist First Year CBT Paper (TT)7. What is the name of gear in compound gear train marked as ‘X’? | कम्पाउंड गियर ट्रेन में गियर का नाम 'X' के रूप में चिह्नित किया गया है? A. 2ⁿᵈ driver | 2ⁿᵈ ड्राइवर B. 1ˢᵗ driven | 1ˢᵗ ड्रिवेन C. 2ⁿᵈ driven | 2ⁿᵈ ड्रिवेन D. 1ˢᵗ driver | 1ˢᵗ ड्राइवर 9 / 75 Category: Machanist First Year CBT Paper (TT)8. Which one of the following is the advantage of taper turning attachment over tail stock offset method? | टेल स्टॉक ऑफ़सेट विधि पर टेंपर टर्निंग अटैचमेंट का निम्नलिखित में से कौन सा लाभ है? A. Power feed can not be given | पावर फीड नहीं दिया जा सकता है B. The alignment of lathe centres is not disturbed | खराद केंद्रों के संरेखण में गड़बड़ी नहीं होती है C. Initial cost is less | प्रारंभिक लागत कम है D. Job can be held between centres | केंद्रों के बीच नौकरी की जा सकती है 10 / 75 Category: Machanist First Year CBT Paper (TT)9. Which main part of the surface grinding machine has a driving mechanism? | सरफेस ग्राइंडिंग मशीन के किस मुख्य भाग में ड्राइविंग मैकेनिज्म होता है? A. Base | बेस B. Wheel head | व्हील हेड C. Table | टेबल D. Saddle | सैडल 11 / 75 Category: Machanist First Year CBT Paper (TT)10. What is marked "X" in given figure? | दिए गए चित्र में "X" क्या अंकित है? A. Base | बेस B. Head stock | हेड स्टॉक C. Table | टेबल D. Wheel head | व्हील हेड 12 / 75 Category: Machanist First Year CBT Paper (TT)11. Which part of the cone pulley head stock is engaged for reducing the spindle speed? | शंकु पुली हेड स्टॉक का कौन सा हिस्सा स्पिंडल गति को कम करने के लिए लगा हुआ है? A. Cross slide | क्रॉस स्लाइड B. Back gear unit | बैक गियर यूनिट C. Tail stock | टेल स्टॉक D. Carriage | कैरिज 13 / 75 Category: Machanist First Year CBT Paper (TT)12. What will be the nose or wedge angle of lathe tool? | खराद उपकरण के नोज या किनारे कोण क्या होगा? A. 50° | ५०° B. 45° | ४५° C. 60° | ६०° D. 90° | ९०° 14 / 75 Category: Machanist First Year CBT Paper (TT)13. What type of milling cutter having teeth on periphery and the cutting edged are placed on a conical surface? | किस प्रकार की मिलिंग कटर में परिधि पर दांत होते हैं और कटे हुए किनारे को शंक्वाकार सतह पर रखा जाता है? A. Side and face cutter | साइड और फेस कटर B. Plain milling cutter | सादा मिलिंग कटर C. Angular milling cutter | कोणीय मिलिंग कटर D. End milling cutter | अंत मिलिंग कटर 15 / 75 Category: Machanist First Year CBT Paper (TT)14. What denotes by ‘46’in the (A46K5V8) mentioned marking system of a grinding wheel? | ग्राइंडिंग व्हील द्वारा निरूपित मार्किंग सिस्टम (A46K5V8) में '46' से क्या तात्पर्य है? A. Type of abrasive | अपघर्षक का प्रकार B. Grade | ग्रेड C. Structure | संरचना D. Grain size | ग्रेन का आकार 16 / 75 Category: Machanist First Year CBT Paper (TT)15. Which indexing method the extended spindle is fitted to the rear of indexing head spindle? | विस्तारित स्पिंडल किस इंडेक्सिंग विधि को हेडिंग स्पिंडल के पीछे की तरफ लगाया जाता है? A. Angular indexing | कोणीय अनुक्रमण B. Direct indexing | प्रत्यक्ष अनुक्रमण C. Simple indexing | सरल अनुक्रमण D. Differential indexing | अंतर अनुक्रमण 17 / 75 Category: Machanist First Year CBT Paper (TT)16. What is the name of the angle marked ‘X’? | x द्वारा चिह्नित किए गए कोण का नाम बताइये? A. Top rake angle | शीर्ष रेक कोण B. Side cutting edge angle | साइड कर्तन धार कोण C. Front clearance angle | अग्र अवकाश कोण D. Side rake angle | साइड रेक कोण 18 / 75 Category: Machanist First Year CBT Paper (TT)17. Which term used to indicate external dimension of a component in BIS system of limits & fits? | लिमिट और फिट के बीआईएस सिस्टम में एक डेटाकेंड के बाहरी आयाम को इंगित करने के लिए किस शब्द का उपयोग किया जाता है? A. Deviation | विचलन B. Hole | छेद C. Shaft | शाफ़्ट D. Tolerance | सहनशीलता 19 / 75 Category: Machanist First Year CBT Paper (TT)18. What is the name of the tool head in slotter? | स्लॉटर में टूल हेड का नाम क्या है? A. Extension tool head | एक्सटेंशन टूल हेड B. Relieving tool head | राहत देने वाला टूल हेड C. Plain type tool head | प्लेन टाइप टूल हेड D. Rotating tool head | घूर्णन उपकरण सिर 20 / 75 Category: Machanist First Year CBT Paper (TT)19. Which lathe operation the job will be the same diameter throughout the length of job? | कौन सा खराद का काम कार्य की लंबाई के दौरान एक ही व्यास होगा? A. Plain turning | साधारण खराद B. Step turning | स्टेप खराद C. Chamfering | चेम्फेरिंग D. Facing | फेसिंग 21 / 75 Category: Machanist First Year CBT Paper (TT)20. What is known as the hand of a thread? | एक धागे के हाथ के रूप में क्या जाना जाता है? A. Thread angle | चूड़ी का कोण B. Direction of advance | अग्रिम की दिशा C. Lead | लीड D. Number of start | प्रारंभ की संख्या 22 / 75 Category: Machanist First Year CBT Paper (TT)21. Where the steady rest is fixed in a lathe? | एक खराद में स्थिर आराम कहाँ तय किया जाता है? A. Tail stock | टेल शेयर B. Lathe bed | खराद बिस्तर C. Saddle | सैडल D. Carriage | गाड़ी 23 / 75 Category: Machanist First Year CBT Paper (TT)22. What is the name of the part marked as X? | X के रूप में चिह्नित भाग का नाम क्या है? A. Index plate | सूचकांक प्लेट B. Auxiliary worm shaft | सहायक कृमि शाफ़्ट C. Index crank | सूचकांक क्रैंक D. Sector arms | सेक्टर हथियार 24 / 75 Category: Machanist First Year CBT Paper (TT)23. Which milling attachments is used to increase the speed by 4 to 6 times? | किस मिलिंग अटैचमेंट का उपयोग गति को 4 से 6 गुना बढ़ाने के लिए किया जाता है? A. Circular table attachment | परिपत्र तालिका अनुलग्नक B. Rack milling attachment | रैक मिलिंग लगाव C. Slotting attachment | स्लॉटिंग अटैचमेंट D. High speed attachment | उच्च गति का लगाव 25 / 75 Category: Machanist First Year CBT Paper (TT)24. What is the name of V slotting tool? | V स्लॉटिंग टूल का नाम क्या है? A. Key way cutting tool | मुख्य तरीका काटने का उपकरण B. Parting tool | बिदाई का उपकरण C. Finishing tool | फिनिशिंग टूल D. Round nose tool | गोल नाक का औजार 26 / 75 Category: Machanist First Year CBT Paper (TT)25. What is the name of process? | प्रक्रिया का नाम क्या है? A. Spinning | कताई B. Rolling रोलिंग C. Bending झुकने D. Drawing | चित्रकला 27 / 75 Category: Machanist First Year CBT Paper (TT)26. How is tool moved in slotting machine? | स्लॉटिंग मशीन में टूल को कैसे मूव किया जाता है? A. Rotating | रोटेटिंग B. Reciprocating | रेसिप्रोकेटिंग C. Tool is sectionary | औजार अनुभागीय है D. Oscillating | दोलनशील 28 / 75 Category: Machanist First Year CBT Paper (TT)27. Which type of side milling cutters are used for milling wider slots of accurate width? | सटीक चौड़ाई के व्यापक स्लॉट्स को मिलिंग के लिए किस प्रकार के साइड मिलिंग कटर का उपयोग किया जाता है? A. Plain side and face milling cutter | सादा पक्ष और चेहरा मिलिंग कटर B. Inter locking side milling cutter | इंटरलॉकिंग साइड मिलिंग कटर C. Half side milling cutter | हाफ साइड मिलिंग कटर D. staggered teeth side milling cutter | कंपित दांत साइड मिलिंग कटर 29 / 75 Category: Machanist First Year CBT Paper (TT)28. What is the name of the part marked as X? | The X के रूप में चिह्नित भाग का नाम क्या है? A. Clamp | क्लैंप B. Work piece | वर्क पीस C. ‘T’ bolt | T' बोल्ट D. Fulcrum block | फुलक्रम ब्लॉक 30 / 75 Category: Machanist First Year CBT Paper (TT)29. Which diameter is to be turned for cutting external thread? | बाहरी धागे को काटने के लिए किस व्यास को मोड़ना है? A. Major diameter | प्रमुख व्यास B. Pitch diameter | पिच का व्यास C. Root diameter | जड़ का व्यास D. Minor diameter | छोटा व्यास 31 / 75 Category: Machanist First Year CBT Paper (TT)30. What is the cause of wheel chatter marks? | व्हील चटर मार्क का कारण क्या है? A. Wheel out of centre | व्हील सेंटर से बाहर होने के कारण B. Dirty coolant | कूलैंट गंदा होने के कारण C. Incorrect wheel grade | व्हील ग्रेड गलत होने के कारण D. Wheel is too soft | व्हील बहुत सॉफ्ट होने के कारण 32 / 75 Category: Machanist First Year CBT Paper (TT)31. What is the angle of centre punch? | केंद्र पंच का कोण क्या है? A. 75° | ७५° B. 90° | ९०° C. 60° | ६०° D. 30° | ३०° 33 / 75 Category: Machanist First Year CBT Paper (TT)32. What material is used to make slip gauge blocks? | स्लिप गेज ब्लॉक बनाने के लिए किस सामग्री का उपयोग किया जाता है? A. Tool steel | टूल स्टील B. High graded steel | उच्च ग्रेडेड इस्पात C. High carbon steel | उच्च कार्बन स्टील D. Low graded steel | निम्न ग्रेडेड इस्पात 34 / 75 Category: Machanist First Year CBT Paper (TT)33. Which machine tool removes the metal from a revolving work piece with a stationery cutting tool? | स्टेशनरी कटिंग टूल के साथ घूमने वाले वर्क पीस से कौन सा मशीन टूल धातु निकालता है? A. Milling machine | मिलिंग मशीन B. Grinding machine | ग्राइंडिंग मशीन C. Lathe | खराद D. Shaper | शेपर 35 / 75 Category: Machanist First Year CBT Paper (TT)34. What type of side milling cutters are used for milling deep and narrow slots and key ways? | गहरे और संकीर्ण स्लॉट्स और प्रमुख तरीकों को मिलाने के लिए किस प्रकार के साइड मिलिंग कटर का उपयोग किया जाता है? A. Inter locking side milling cutter | इंटरलॉकिंग साइड मिलिंग कटर B. Plain side and face milling cutter | सादा पक्ष और चेहरा मिलिंग कटर C. Staggered teeth side milling cutter | कंपित दांत साइड मिलिंग कटर D. Half side milling cutter | हाफ साइड मिलिंग कटर 36 / 75 Category: Machanist First Year CBT Paper (TT)35. What is the operation shown in figure? | चित्र में दिखाया गया ऑपरेशन क्या है? A. Grinding taper | ग्राइंडिंग टेपर B. Grinding parallel | ग्राइंडिंग पैरेलल C. Taper turning | टेपर टर्निंग D. Plain grinding | प्लेन ग्राइंडिंग 37 / 75 Category: Machanist First Year CBT Paper (TT)36. Which term used to indicate external dimension of a component in BIS system of limits & fits? | लिमिट और फिट के बीआईएस सिस्टम में एक डेटाकेंड के बाहरी आयाम को इंगित करने के लिए किस शब्द का उपयोग किया जाता है? A. Tolerance | सहनशीलता B. Hole | छेद C. Shaft | शाफ़्ट D. Deviation | विचलन 38 / 75 Category: Machanist First Year CBT Paper (TT)37. Which indexing method the movement of the plate for a turn of crank is controlled by change gear arrangement ? | क्रैंक के एक मोड़ के लिए प्लेट की गति को किस अनुक्रमण विधि से गियर परिवर्तन द्वारा नियंत्रित किया जाता है? A. Simple indexing | सरल अनुक्रमण B. Differential indexing | अंतर अनुक्रमण C. Direct indexing | प्रत्यक्ष अनुक्रमण D. Angular indexing | कोणीय अनुक्रमण 39 / 75 Category: Machanist First Year CBT Paper (TT)38. How does the concentricity of shafts can be checked? | कैसे शाफ्ट की सांद्रता की जाँच की जा सकती है? A. Using combination set | संयोजन सेट का उपयोग करके B. Using vernier caliper | वर्नियर कैलिपर का उपयोग करके C. Using dial test indicator | डायल टेस्ट इंडिकेटर का उपयोग करके D. Using centre gauge | सेंटर गेज का उपयोग करके 40 / 75 Category: Workshop Calculation and Science CBT Paper (I)1. Which metal contains iron as a major content?| इनमे से किस धातु में प्रमुख सामग्री के रूप में लोहा होता है? A. Zinc | जिंक B. Ferrous metal | लोह धातु C. Bronze metal | ब्रोंज धातु D. Brass metal | पीतल धातु 41 / 75 Category: Workshop Calculation and Science CBT Paper (I)2. What is the boiling point of water? | पानी का क्वथनांक क्या होता है? A. 32°C | ३२° सेल्सियस B. 212°C | २१२ ° सेल्सियस C. 0°C | 0° सेल्सियस D. 100°C | १००° सेल्सियस 42 / 75 Category: Workshop Calculation and Science CBT Paper (I)3. What is the square root of 529?| 529 का वर्गमूल क्या है? A. 43 | ४३ B. 33 | ३३ C. 13 | १३ D. 23 | २३ 43 / 75 Category: Workshop Calculation and Science CBT Paper (I)4. What is the value for specific heat of water?/ पानी की विशिष्ट ऊष्मा का मान क्या है? A. 2 B. 3 C. 4 D. 1 44 / 75 Category: Workshop Calculation and Science CBT Paper (I)5. Which property of metal has its power of returning to its original shape after the applied force is released?| धातु की कौन सा गुण बल लगाने पर विरूपित तथा बल हटाने पर वापस अपने पूर्वावस्था मे आने की झमता रखता है? A. Malleability | आघातवर्धनीयता B. Elasticity | प्रत्यास्तथा C. Tenacity | दृढ़ता D. Plasticity | सुघट्यता 45 / 75 Category: Workshop Calculation and Science CBT Paper (I)6. What are the two classifications of system of units?/ इकाइयों की प्रणाली के दो प्रकार कोनसे हैं? A. Metric and International / मैट्रिक और इंटरनेशनल B. British and Metric / ब्रिटिश और मीट्रिक C. Fundamental and derived / मौलिक और व्युत्पन्न D. Gravitational and non-gravitational / गुरुत्वाकर्षण और गैर-गुरुत्वाकर्षण 46 / 75 Category: Employability Skill CBT Paper (I)1. Which AI tool can explain grammar? | कौन सा एआई टूल व्याकरण समझा सकता है? A. Recorder | रेकॉर्डर B. MS Paint | एमएस पेंट C. Notepad | नोटपैड D. ChatGPT | चैटजीपीटी 47 / 75 Category: Employability Skill CBT Paper (I)2. Values are ______| मान हैं ………। A. Motivates our attitude and action | हमारे दृष्टिकोण और कार्रवाई को प्रेरित करता है B. not punctual | समयनिष्ठ नहीं C. very costly | बहुत क़ीमती D. all have same value | सभी का मूल्य समान है 48 / 75 Category: Employability Skill CBT Paper (I)3. The 4 stages of getting customers are __________ | ग्राहक प्राप्त करने के 4 चरण हैं_________ A. Acquisition, Retention, Satisfaction, Loyalty | अर्जन, प्रतिधारण, संतोष, वफादारी B. Acquisition, Remember, Satisfaction, Loyalty | अर्जन, याद, संतोष, वफादारी C. Attention, Retention, Satisfaction, Loyalty | ध्यान, प्रतिधारण, संतोष, वफादारी D. Attention, Retention, Sales, loyalty | ध्यान, प्रतिधारण, बिक्री, वफादारी 49 / 75 Category: Employability Skill CBT Paper (I)4. What approach is used to gain access to foreign markets and quickly promote an organizations interest? | विदेशी बाजारों तक पहुंच प्राप्त करने और संगठनों के हित को जल्दी बढ़ावा देने के लिए किस दृष्टिकोण का उपयोग किया जाता है? A. Technology transfer | तकनीकी हस्तांतरण B. Collaboration | सहयोग C. Licensing | लाइसेंसिंग D. Joint venture | संयुक्त उद्यम 50 / 75 Category: Employability Skill CBT Paper (I)5. Which one is a “Do’s” for interview etiquette?| इंटरव्यू एटिकेट में “Do’s” क्या है? A. Excessive gesture | एक्सिसिव जेस्चर B. Calm approach | काल्म अप्रोच C. Nervousness | नर्वसनेस D. Informal dress | इनर्फोमल ड्रेस 51 / 75 Category: Employability Skill CBT Paper (I)6. How do successful people handle failure? | सफल लोग असफलता को कैसे संभालते हैं? A. They blame others | वे दूसरों को दोष देते हैं। B. They learn from their mistakes | वे अपनी गलतियों से सीखते हैं। C. They get demotivated | वे डिमोटिवेट हो जाते हैं। D. They give up their ambitions | वे अपनी महत्वाकांक्षाओं को त्याग देते हैं। 52 / 75 Category: Employability Skill CBT Paper (I)7. The expansion of RAM is __________| "RAM" का विस्तार है - A. Read Octet Machine | रीड ओकटेट मशीन B. Random Access Machine | रैंडम एक्सेस मशीन C. Read Access Memory | रीड एक्सेस मेमोरी D. Random Access Memory | रैंडम एक्सेस मेमोरी 53 / 75 Category: Employability Skill CBT Paper (I)8. Which one is a “Do’s” of discussion etiquettes?| चर्चा के शिष्टाचारों में से कौन सा “Do’s” है? A. Use impolite or rude language | अभद्र या अशिष्ट भाषा का उपयोग करें B. Talk about irrelevant details | अप्रासंगिक विवरण के बारे में बात करें C. Listen to others | दूसरों की सुनें D. Loose your temper | अपना आपा खोएं 54 / 75 Category: Employability Skill CBT Paper (I)9. Which is not the online payment App? | कौन सा ऑनलाइन भुगतान App नहीं है? A. PhonePe | फ़ोन पे B. Paytm | पेटीएम C. Google Pay | गूगल पे D. India Pay | इंडियन पे 55 / 75 Category: Employability Skill CBT Paper (I)10. Listening to Railway or Flight announcement, teacher’s lecture comes under ___________| रेलवे या उड़ान की घोषणा को सुनना, शिक्षक का लैक्चर ........ के अंतर्गत आता है A. comprehensive listening | काम्प्रिहेन्सिव लिसनिंग B. critical listening | क्रिटिकल लिसनिंग C. appreciative listening | प्रशंसात्मक लिसनिंग D. therapeutic listening | चिकित्सकीय लिसनिंग 56 / 75 Category: Employability Skill CBT Paper (I)11. The expansion of ROM is ____________ | "ROM" का विस्तार है - A. Random Only Memory | रैंडम ओनली मेमोरी B. Read Only Memory | रीड ओनली मेमोरी C. Rewrite Octet Machine| रिराइट ओकटेट मशीन D. Read Octet Machine | रीड ओकटेट मशीन 57 / 75 Category: Employability Skill CBT Paper (I)12. What is a shortcut key for “select all” command? | "सेलेक्ट ऑल" कमांड के लिए एक शॉर्टकट की (कुंजी) क्या है? A. Ctrl + A | कंट्रोल + A B. Ctrl + V | कंट्रोल + V C. Ctrl + X | कंट्रोल + X D. Ctrl + C | कंट्रोल + C 58 / 75 Category: Employability Skill CBT Paper (I)13. Choose the correct punctuation mark after the word “Rohan” in the given sentence. “Rohan David and Ram are playing hide and seek” | दिए गए वाक्य में शब्द "रोहन" के बाद सही विराम चिह्न चुनें।“Rohan David and Ram are playing hide and seek” A. Period (_) | अवधि (_) B. Hyphen (-) | हाइफ़न (-) C. Comma (,) | अल्पविराम (,) D. Slash (/) | स्लैश (/) 59 / 75 Category: Employability Skill CBT Paper (I)14. Fill in the blank with suitable place preposition. “My house is ___________ the third floor”/ उपयुक्त स्थान पूर्वसर्ग के साथ रिक्त स्थान भरें। “My house is ___________the third floor” A. at / एट B. in / इन C. under / अंडर D. on / ओन 60 / 75 Category: Employability Skill CBT Paper (I)15. In MS Excel, collection of work sheet is known as ___________ | एमएस एक्सेल में, वर्क शीट के संग्रह को ............ के रूप में जाना जाता है l A. excel book | एक्सेल बुक B. worksheet | वर्कशीट C. sheet work | शीट वर्क D. workbook | वर्कबुक 61 / 75 Category: Employability Skill CBT Paper (I)16. Which one is an exclamatory sentence? | कौन सा विस्मयादिबोधक वाक्य है? A. Is it a beautiful house? | क्या यह एक सुंदर घर है? B. What a beautiful house it is! | यह कितना सुंदर घर है! C. It is a beautiful house. | यह एक सुंदर घर है। D. Your house is beautiful. | आपका घर सुंदर है। 62 / 75 Category: Employability Skill CBT Paper (I)17. 1st industrial revolution started in…..| पहली औद्योगिक क्रांति की शुरुआत …….। A. 20th century | 20 वीं सदी B. 21st century | 21 वीं सदी C. 18th century | 18 वीं सदी D. 19th century | 19 वीं सदी 63 / 75 Category: Employability Skill CBT Paper (I)18. In SWOT analysis which pair is helpful? | SWOT विश्लेषण में कौन सी जोड़ी सहायक है? A. Threats, Opportunities | धमकी, अवसर B. Strengths, Opportunities | सामर्थ्य, अवसर C. Threats, Weakness | धमकी, कमजोरी D. Strengths, Weakness | ताकत, कमजोरी 64 / 75 Category: Employability Skill CBT Paper (I)19. Which one is a “don’t” in interview etiquette? | इंटरव्यू एटिकेट में “don’t” क्या है? A. Dress appropriately | ठीक ढंग से कपड़े पहनें B. Lie about your abilities to get job | नौकरी पाने के लिए अपनी क्षमताओं के बारे में झूठ बोलें C. Be confident | आत्मविश्वास रखो D. Proper eye contact | प्रोपर आई कांटैक्ट 65 / 75 Category: Employability Skill CBT Paper (I)20. A person with a growth mindset is always willing to ______| एक विकास मानसिकता वाला व्यक्ति हमेशा ...... तैयार रहता है। A. keep quiet | चुप रहने में B. grow, change, learn | बढ़ो, बदलो, सीखो C. relax |आराम करने में D. become rich | अमीर बनने 66 / 75 Category: Employability Skill CBT Paper (I)21. Which of these is the full form of SWOT? | इनमें से कौन SWOT का पूर्ण रूप है? A. Strength Weakness Opportunity Threat | ताकत, कमजोरी, अवसर, खतरा B. Special Wellness Organization Theme | विशेष स्वास्थ्य संगठन थीम C. Speak Work Openly Together | कार्य को खुले तौर पर एक साथ बोलें D. Strong World Olympic Team | मजबूत विश्व ओलंपिक टीम 67 / 75 Category: Employability Skill CBT Paper (I)22. In Excel, the intersection of a row and column is called a _________| एक्सेल में, किसी रो (पंक्ति) और कॉलम (स्तंभ) के इंटरसेक्शन (प्रतिच्छेदन) को ............ कहा जाता है l A. cell | सैल B. square | स्क्वायर C. label | लेबल D. worksheet | वर्कशीट 68 / 75 Category: Employability Skill CBT Paper (I)23. Fill in the blank with suitable adjective for the given sentence “The little girl’s…… eyes revealed her mischief” | दिए गए वाक्य के लिए उपयुक्त विशेषण के साथ रिक्त स्थान भरें “The little girl’s…… eyes revealed her mischief” A. short sighted | शोर्ट साईंटेड B. weak | वीक C. twinkling | ट्विंकलिंग D. Chubby | चुब्बय 69 / 75 Category: Employability Skill CBT Paper (I)24. Which of the following websites are not popular for finding jobs?| निम्नलिखित में से कौन सी वेबसाइट नौकरी खोजने के लिए लोकप्रिय नहीं है? A. LinkedIn.com | लिंक्डिन डॉट कॉम B. Naukri.com | नौकरी डॉट कॉम C. Sheroes.com | शेरोएस डॉट कॉम D. Twitter.com | ट्विटर डॉट कॉम 70 / 75 Category: Engineering Drawing CBT Paper (I)1. Identify the line 'b'? | लाइन 'b' को पहचानें? A. Leader line | लीडर लाइन B. Dimension line | आयाम रेखा C. Extension line | विस्तारित लाइन D. Termination of dimension line | आयाम रेखा की समाप्ति 71 / 75 Category: Engineering Drawing CBT Paper (I)2. Which drawing dimension is correct as per IS standard? | IS मानक के अनुसार कौन सा ड्राइंग आयाम सही है? A. Option C | विकल्प C B. Option D | विकल्प D C. Option B | विकल्प B D. Option A | विकल्प A 72 / 75 Category: Engineering Drawing CBT Paper (I)3. Identify the name of set square? | सेट स्क्वायर का नाम खोजें? A. 30° set square | 30° सेट स्क्वायर B. 45° set square | 45° सेट स्क्वायर C. 60° set square | 60° सेट स्क्वायर D. 15° set square |15° सेट स्क्वायर 73 / 75 Category: Engineering Drawing CBT Paper (I)4. Is drawing dimension is correct as per IS standard?/ IS मानक के अनुसार क्या ड्राइंग आयाम सही है? A. Yes / हाँ B. No / नहीं 74 / 75 Category: Engineering Drawing CBT Paper (I)5. Is arrow head is correct as per standard?/ मानक के अनुसार तीर शीर्ष सही है या नहीं ? A. Yes / हाँ B. No / नहीं 75 / 75 Category: Engineering Drawing CBT Paper (I)6. Identify the name of tool?/ उपकरण का नाम पहचानें? A. Hawk-billed shear / हॉक-बिल शीयर B. Cutting plier / काटने वाला सरौता C. Double cutting shear / डबल काटने कतरनी D. Aviation shear / उड्डयन कतरनी Your score isThe average score is 0% 0% Restart quiz Exit WhatsApp और YouTube चैनल से जुड़े रहनाWhats App CBT Practice PaperElectricianCOPAFitterDraughtsman MechanicFashion Design & TechnologyElectronic MechanicArchitectural DraughtsmanAeronautical Structure and Equipment FitterDraughtsman CivilCosmetologyTurnerComputer Hardware & Network Maintenance अत्यधिक चर्चा में ITI Supplementary Exam Eligibility December 2025: Attendance और FA से जुड़े महत्वपूर्ण नियम | DGT के नए आदेश की पूरी जानकारी NCVT सप्लीमेंट्री/लेफ्टओवर परीक्षा (दिसम्बर-2025): उत्तर प्रदेश के प्रशिक्षार्थियों के लिए SCVT पोर्टल पर पंजीकरण शुरू SIDH पोर्टल पर कब होंगे बाकी बचे Trainee Migrate? CTS एडमिशन और डेटा अपलोड की अंतिम तिथि क्या है? DGT API Schedule PRADAN Taluk Coordinator Recruitment 2025: कर्नाटक में 32-36 हजार वेतन के साथ नई भर्ती Bank of India Recruitment 2025: स्केल-II, III और IV ऑफिसर्स की बड़ी भर्ती – आवेदन शुरू PNB LBO भर्ती 2025: पंजाब नेशनल बैंक में 750 लोकल बैंक ऑफिसर पदों पर आवेदन शुरू – योग्यता, सिलेबस, चयन प्रक्रिया और ऑनलाइन फॉर्म