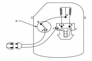
RAC First Year – Trade Theory Set – 06By itikegyani.com / March 30, 2025 /25 7 RAC First Year - Trade Theory Practice Set 06यहाँ प्रत्येक पेपर में 25 महत्वपूर्ण प्रश्न होते हैं। यह क्विज ITI परीक्षा की तैयारी के लिए बेहद उपयोगी हैं, जिससे आप कहीं भी, कभी भी अध्ययन और अभ्यास कर सकते हैं। ITI के ज्ञानी द्वारा तैयार किए गए ये मॉक प्रैक्टिस पेपर परीक्षा के पैटर्न के अनुसार बनाए गए हैं, जिससे आपको वास्तविक परीक्षा का अनुभव मिलेगा और आत्मविश्वास बढ़ेगा। 1 / 25 Category: Refrigeration and Air Conditioning Technician First Year CBT Paper (TT)1. What is the name of component used in electronic circuit? | इलेक्ट्रॉनिक सर्किट में उपयोग किए जाने वाले घटक का नाम क्या है? A. Transistor | ट्रांजिस्टर B. Vacuum tube | वैक्यूम-ट्यूब C. Zener diode | ज़ेनर डायोड D. Voltage regulator | वोल्टेज रेगुलेटर 2 / 25 Category: Refrigeration and Air Conditioning Technician First Year CBT Paper (TT)2. What is the minimum distance to be maintained between the wall and refrigerator condenser? | वाल और रेफ्रिजरेटर कंडेनसर के बीच बनाए रखने के लिए न्यूनतम दूरी क्या है? A. 15 cm | 15 सेंटीमीटर B. 13 cm | 13 सेंटीमीटर C. 18 cm | 18 सेंटीमीटर D. 22 cm | 22 सेंटीमीटर 3 / 25 Category: Refrigeration and Air Conditioning Technician First Year CBT Paper (TT)3. How the zeotropic refrigerant is taken from the cylinder for charging it into RAC system? | कैसे RAC प्रणाली में चार्ज करने के लिए सिलेंडर से ज़ियोट्रोपिक रेफ्रिजरेंट लिया जाता है? A. Vapour state | वाष्प अवस्था द्वारा B. Vapour and liquid | वाष्प और तरल द्वारा C. Super heated vapour | सुपर गर्म वाष्प द्वारा D. Liquid state | तरल अवस्था द्वारा 4 / 25 Category: Refrigeration and Air Conditioning Technician First Year CBT Paper (TT)4. Which application uses the digital ICs? | डिजिटल IC का उपयोग कौन से अनुप्रयोग में होता है? A. Amplifier | एम्पलीफायर B. Logic gates | लॉजिक गेट्स C. Tuned circuits | ट्यून्ड सर्किट D. Voltage regulator | वोल्टेज रेगुलेटर 5 / 25 Category: Refrigeration and Air Conditioning Technician First Year CBT Paper (TT)5. What is the material composition of a Tin man’s solder? | टिन मैन सोल्डर की सामग्री संरचना क्या है? A. 50% Tin 50% lead | 50% टिन 50% लीड B. 50% Zinc 50% lead | 50% जस्ता 50% सीसा C. 50% Tin 50% Bronze | 50% टिन 50% कांसा D. 50% Tin 50% Zinc | 50% टिन 50% जस्ता 6 / 25 Category: Refrigeration and Air Conditioning Technician First Year CBT Paper (TT)6. Which method is used to connect the swaged joint in copper tubes? | तांबे की ट्यूबों में स्वेज्ड जॉइंट को जोड़ने के लिए किस विधि का उपयोग किया जाता है? A. Silver brazing | सिल्वर ब्रेज़िंग B. Fusion welding | फ्यूज़न वेल्डिंग C. Lead soldering | लीड सोल्डरिंग D. TIG welding | TIG वेल्डिंग 7 / 25 Category: Refrigeration and Air Conditioning Technician First Year CBT Paper (TT)7. What is the safety device used during arc welding? | आर्क वेल्डिंग के दौरान उपयोग किया जाने वाला सुरक्षा उपकरण क्या है? A. Hand screen | हैण्ड स्क्रीन B. Screw clamp | स्क्रू क्लैंप C. Lugs for welding | वेल्डिंग के लिए लग्स D. Electrode holder | इलेक्ट्रोड होल्डर 8 / 25 Category: Refrigeration and Air Conditioning Technician First Year CBT Paper (TT)8. What is the resistance level of start winding in a refrigerator’s compressor motor? | रेफ्रिजरेटर के कंप्रेसर मोटर में स्टार्ट वाइंडिंग का रेजिस्टेंस स्तर क्या है? A. Zero resistance | जीरो रेजिस्टेंस B. High resistance | हाई रेजिस्टेंस C. Low resistance | लो रेजिस्टेंस D. Medium resistance | मीडियम रेजिस्टेंस 9 / 25 Category: Refrigeration and Air Conditioning Technician First Year CBT Paper (TT)9. What is the control marked as X in compressor motor? | कंप्रेसर मोटर में X के रूप में चिह्नित नियंत्रण क्या है? A. OLP | ओएलपी B. Compressor कंप्रेसर C. Relay | रिले D. Compressor terminal कंप्रेसर टर्मिनल 10 / 25 Category: Refrigeration and Air Conditioning Technician First Year CBT Paper (TT)10. How the cylinders of gas welding set are secured in trolley? | ट्रॉली में गैस वेल्डिंग सेट के सिलेंडरों को कैसे सुरक्षित किया जाता है? A. Using chain | चेन का उपयोग करके B. By cable | केबल द्वारा C. Tightened with rope | रस्सी द्वारा कस कर D. Tied up with belt | बेल्ट द्वारा बांध कर 11 / 25 Category: Refrigeration and Air Conditioning Technician First Year CBT Paper (TT)11. Which instrument is used to measure atmospheric pressure? | वायुमंडलीय दबाव को मापने के लिए किस उपकरण का उपयोग किया जाता है? A. Hygrometer | हायग्रोमीटर B. Hydrometer | हाइड्रोमीटर C. Barometer | बैरोमीटर D. Manometer | मेनोमीटर 12 / 25 Category: Refrigeration and Air Conditioning Technician First Year CBT Paper (TT)12. What is the name of part marked as X? | X के रूप में चिह्नित भाग का नाम क्या है? A. Swash plate | स्वश प्लेट B. Magnetic clutch | चुंबकीय क्लच C. Disc valve | डिस्क वाल्व D. Piston | पिस्टन 13 / 25 Category: Refrigeration and Air Conditioning Technician First Year CBT Paper (TT)13. What is the use of dehydrator? | डिहाइड्रेटर का उपयोग क्या है? A. Absorb heat | गर्मी को अवशोषित B. Absorb refrigerant | अवशोषक प्रशीतक C. Absorb oil | तेल को अवशोषित D. Absorb moisture | नमी को अवशोषित 14 / 25 Category: Refrigeration and Air Conditioning Technician First Year CBT Paper (TT)14. Where does the ozone layer exist in atmosphere? | वायुमंडल में ओजोन परत कहां मौजूद है? A. Exosphere | एक्सोस्फियर B. Ionosphere | लोनोस्फीयर C. Stratosphere | स्ट्रैटोस्फियर D. Mesosphere | मेसोस्फीयर 15 / 25 Category: Refrigeration and Air Conditioning Technician First Year CBT Paper (TT)15. Which process absorbs heat from the cabinet in refrigerator? | कौन सी प्रक्रिया कैबिनेट से रेफ्रिजरेटर में ऊष्मा अवशोषित करती है? A. Expansion | एक्सपेंशन B. Evaporation | एवापोरेशन C. Condensation | कंडेनसेशन D. Compression | कम्प्रेशन 16 / 25 Category: Refrigeration and Air Conditioning Technician First Year CBT Paper (TT)16. What is the part marked as X? | भाग को X के रूप में चिह्नित किया गया है? A. Blower motor | वायु निस्सारण मोटर B. Fan motor | पंखे का मोटर C. Blower | ब्लोअर D. Fan | पंखा 17 / 25 Category: Refrigeration and Air Conditioning Technician First Year CBT Paper (TT)17. Which motor is used to drive the blower of indoor unit in ductable split air conditioners? | डक्टेबल स्प्लिट एयर कंडीशनर में इनडोर यूनिट के ब्लोअर को चलाने के लिए किस मोटर का उपयोग किया जाता है? A. Three phase induction motor | तीन चरण प्रेरण मोटर B. Capacitor start capacitor run motor | कैपेसिटर स्टार्ट कैपेसिटर रन मोटर C. Shaded pole motor | शेडेड पोल मोटर D. Permanent split capacitor motor | स्थायी विभाजन संधारित्र मोटर 18 / 25 Category: Refrigeration and Air Conditioning Technician First Year CBT Paper (TT)18. What is the part marked as X in flaring set? | फ्लेयरिंग सेट में X के रूप में चिह्नित भाग क्या है? A. Flaring block | फ्लेयरिंग ब्लॉक B. Flaring yoke | फ्लेयरिंग योक C. Chamfer | चेम्फर D. Wing nut | विंग नट 19 / 25 Category: Refrigeration and Air Conditioning Technician First Year CBT Paper (TT)19. What is the desirable property of POE lubricant? | POE स्नेहक की वांछनीय गुण क्या है? A. Hygroscopic | हीड्रोस्कोपिक B. Toxic gas produced during brazing | ब्रिज़िंग के दौरान उत्पन्न होने वाली विषाक्त गैस C. Miscible with HFCs | HFCs के साथ मिसिबल D. Forms acid with moisture | नमी के साथ अम्ल बनाता है 20 / 25 Category: Refrigeration and Air Conditioning Technician First Year CBT Paper (TT)20. Which materials are used to make mallets? | मेलेट बनाने के लिए किन सामग्रियों का उपयोग किया जाता है? A. Wood, brass | लकड़ी, पीतल B. Rubber, brass | रबर, पीतल C. Wood, cast iron | लकड़ी, कास्ट आयरन D. Wood, rubber | लकड़ी, रबर 21 / 25 Category: Refrigeration and Air Conditioning Technician First Year CBT Paper (TT)21. Which extinguishes the fire on electrical equipment? | बिजली के उपकरणों पर लगी आग को कौन बुझाता है? A. Foam | फोम B. Oil | तेल C. Water | पानी D. Halon | हेलॉन 22 / 25 Category: Refrigeration and Air Conditioning Technician First Year CBT Paper (TT)22. What is the category of R 502 refrigerant? | R 502 रेफ्रिजरेंट की श्रेणी क्या है? A. Halocarbon | हेलोकर्बन B. Azeotropes | एजीओट्रोपेस C. Hydrocarbon | हाइड्रोकार्बन D. Organic compounds | कार्बनिक यौगिक 23 / 25 Category: Refrigeration and Air Conditioning Technician First Year CBT Paper (TT)23. Which gas is used for flushing blocked capillary tube? | अवरुद्ध केशिका ट्यूब फ्लशिंग के लिए कौन सी गैस का उपयोग किया जाता है? A. Dry nitrogen | ड्राई नाइट्रोजन B. Hydrogen | हाइड्रोजन C. Aqua ammonia | एक्वा अमोनिया D. Moist air | नम हवा 24 / 25 Category: Refrigeration and Air Conditioning Technician First Year CBT Paper (TT)24. Which tool is used for trimming the edges of a sheet metal cylinder? | शीट मेटल सिलेंडर के किनारों को ट्रिम करने के लिए किस उपकरण का उपयोग किया जाता है? A. Scissors | कैंची B. Bent snips | बेंट स्निप C. Straight snips | स्ट्रैट स्निप D. Tube cutter | ट्यूब कटर 25 / 25 Category: Refrigeration and Air Conditioning Technician First Year CBT Paper (TT)25. What is the component marked as X in refrigerator? | रेफ्रिजरेटर में X के रूप में चिह्नित घटक क्या है? A. Capillary | केपिलरी B. Evaporator | एवापोरेटर C. Fin type condenser | फिन टाइप कंडेंसर D. Compressor | कंप्रेसर Your score isThe average score is 37% 0% Restart quiz Exit Workshop CalculationEngineering DrawingEmployability SkillRAC CBT PapersWhatsApp और YouTube चैनल से जुड़े रहनाWhats App अत्यधिक चर्चा में 📢 CTS Leftover/Supplementary परीक्षा 2025 का विस्तृत कार्यक्रम जारी! (November/December) SCVT पोर्टल करेक्शन गाइड: सत्र 2025 में नाम, जन्म तिथि और अन्य विवरण सुधार की पूरी जानकारी SBI Specialist Cadre Officer (Manager/Deputy Manager Digital Platforms) Recruitment 2025- Only Interview SBI Specialist Cadre Officer (Credit Analyst) Recruitment 2025- Only Interview 🚀 भारत की ईवी क्रांति का हिस्सा बनें | साइट इंजीनियर (इलेक्ट्रिकल) की भर्ती ⚡ आईटीआई रिजल्ट 2025: SIDH पोर्टल पर ग्रिवांस कर सुधारें अपनी गलती (अंतिम तिथि 19 सितम्बर)