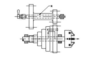
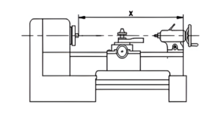
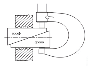
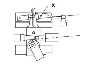
Turner First Year CBT Paper – Free Practice Set -6By itikegyani.com / July 26, 2025 0% 0 यह पेपर 2 घंटे का है 2 घंटे बाद पेपर अपने आप सबमिट हो जायेगा और आप चाहें तो 2 घंटे से पहले भी सबमिट कर सकते है| सॉरी समय समाप्त हो गया| Turner CBT Paper First Year (Quiz -6) इस पेपर में 75 प्रशन है जिसमे Trade Tehory के 38 प्रशन, Workshop Calculation and Science के 06 प्रशन, Engineering Drawing के 06 प्रशन, Employability Skill के 25 प्रशन , प्रत्येक प्रशन 2 मार्क्स का है और किसी प्रकार की नेगेटिव मार्किंग नहीं है| 1 / 75 Category: Engineering Drawing CBT Paper (I) 1. Which is NPN transistor? | NPN ट्रांजिस्टर कौन सा है? A. Option B | विकल्प B B. Option A | विकल्प A C. Option D | विकल्प D D. Option C | विकल्प C 2 / 75 Category: Engineering Drawing CBT Paper (I) 2. Is this single stroke inclined letter 'A' is correct as per IS standard? | IS मानक के अनुसार क्या यह सिंगल स्ट्रोक वर्टिकल लेटर 'A' सही है? A. Option C | विकल्प C B. Option A | विकल्प A C. Option D | विकल्प D D. Option B | विकल्प B 3 / 75 Category: Engineering Drawing CBT Paper (I) 3. Identify the conventional symbol of material? | सामग्री के पारंपरिक प्रतीक को पहचानें? A. Lead | लेड B. Steel | स्टील C. Porcelain | चीनी मिटटी D. Glass | कांच 4 / 75 Category: Engineering Drawing CBT Paper (I) 4. Identify the name of instrument?/ चित्र में दिखाए गए उपकरणों के नाम की पहचान करें? A. Protractor / चांदा B. French curve / फ़्रांसीसी वक्र C. ' T ' square / टी स्क्वायर D. Set square / गुनिया 5 / 75 Category: Engineering Drawing CBT Paper (I) 5. Which drawing dimension is correct as per IS standard? | IS मानक के अनुसार कौन सा ड्राइंग आयाम सही है? A. Option B | विकल्प B B. Option C | विकल्प C C. Option A | विकल्प A D. Option D | विकल्प D 6 / 75 Category: Engineering Drawing CBT Paper (I) 6. Compass used to draw for___./ कम्पास का उपयोग ___ को ड्रा करने के लिए किया जाता है. A. rectangle / आयत B. square / वर्ग C. triangle / त्रिकोण D. circle / वृत्त 7 / 75 Category: Workshop Calculation and Science CBT Paper (I) 1. What is called mass per unit volume of a substances?| किसी पदार्थ के द्रव्यमान प्रति इकाई आयतन को क्या कहते हैं? A. Volume | आयतन B. Mass | द्रव्यमान C. Density | घनत्व D. Weight | भार 8 / 75 Category: Workshop Calculation and Science CBT Paper (I) 2. Convert 0.456 decimal fraction into percentage? | 0.456 दशमलव भिन्न को प्रतिशत में बदलिये? A. 4.56% B. 45.6% C. 0.456% D. 0.0456% 9 / 75 Category: Workshop Calculation and Science CBT Paper (I) 3. What is the perimeter of scalene. Triangle having sides of 40mm, 20mm and 28mm? | उस विषमभुज त्रिकोण का परिमाप क्या होगा, जिसकी भुजाओं की माप 40 मिमी, 20 मिमी व 28 मिमी है? A. 98 mm | 98 मिमी B. 88 mm | 88 मिमी C. 78 mm | 78 मिमी D. 68 mm | 68 मिमी 10 / 75 Category: Workshop Calculation and Science CBT Paper (I) 4. Which is the unit of current? | धारा की इकाई क्या है? A. Ampere | एम्पियर B. Watt | वाट C. Ohm | ओम D. Volt | वोल्ट 11 / 75 Category: Workshop Calculation and Science CBT Paper (I) 5. What is the area of a rectangle, whose length and breadth are 10cm and 8cm respectively? | एक आयत का क्षेत्रफल क्या होगा, जिसकी लम्बाई एवं चौड़ाई क्रमश: 10 से.मी. एवं 8 से.मी. हैं? A. 75 cm² B. 85 cm² C. 90 cm² D. 80 cm² 12 / 75 Category: Workshop Calculation and Science CBT Paper (I) 6. How many millimetres are there in 1 inch? | 1 इंच में कितने मिलीमीटर होते हैं? A. 2.54 mm | २.५४ मी मी B. 2.45 mm | २.४५ मी मी C. 25.4 mm | २५.४ मी मी D. 24.5 mm | २४.५ मी मी 13 / 75 Category: Employability Skill CBT Paper (I) 1. Which one is a correct channel through which marketers can reach customers?| कौन सा एक सही चैनल है जिसके माध्यम से बाजार ग्राहकों तक पहुंच सकता है? A. Manufacturer → Retailer → Customer | निर्माता → रिटेलर → ग्राहक B. Manufacture→ Retailer → Wholesaler → Customer | निर्माण → रिटेलर → थोक विक्रेता → ग्राहक C. Manufacturer → Customer → Retailer | निर्माता → ग्राहक → रिटेलर D. Manufacturer → Retailer → Customer → Wholesaler | निर्माता → रिटेलर → ग्राहक → थोक विक्रेता 14 / 75 Category: Employability Skill CBT Paper (I) 2. Motivation is categories into __________ | मोटिवेशन को वर्गीकृत किया गया है A. good and bad | अच्छा और बुरा B. inner and outer | इनर और आउटर C. high and low | हाई और लो D. intrinsic and extrinsic | आंतरिक और बाह्य 15 / 75 Category: Employability Skill CBT Paper (I) 3. The way money is saved, spent and invested……..| जिस तरह से पैसा बचाया जाता है, खर्च किया जाता है और निवेश किया जाता है…….. A. banking | बैंकिंग B. financial literacy | वित्तीय साक्षरता C. income | आय D. salary | वेतन 16 / 75 Category: Employability Skill CBT Paper (I) 4. Which of the following websites are not popular for finding jobs?| निम्नलिखित में से कौन सी वेबसाइट नौकरी खोजने के लिए लोकप्रिय नहीं है? A. Sheroes.com | शेरोएस डॉट कॉम B. Naukri.com | नौकरी डॉट कॉम C. Twitter.com | ट्विटर डॉट कॉम D. LinkedIn.com | लिंक्डिन डॉट कॉम 17 / 75 Category: Employability Skill CBT Paper (I) 5. Which one is an exclamatory sentence? | कौन सा विस्मयादिबोधक वाक्य है? A. It is a beautiful house. | यह एक सुंदर घर है। B. Your house is beautiful. | आपका घर सुंदर है। C. Is it a beautiful house? | क्या यह एक सुंदर घर है? D. What a beautiful house it is! | यह कितना सुंदर घर है! 18 / 75 Category: Employability Skill CBT Paper (I) 6. The 4 stages of getting customers are __________ | ग्राहक प्राप्त करने के 4 चरण हैं_________ A. Attention, Retention, Sales, loyalty | ध्यान, प्रतिधारण, बिक्री, वफादारी B. Attention, Retention, Satisfaction, Loyalty | ध्यान, प्रतिधारण, संतोष, वफादारी C. Acquisition, Retention, Satisfaction, Loyalty | अर्जन, प्रतिधारण, संतोष, वफादारी D. Acquisition, Remember, Satisfaction, Loyalty | अर्जन, याद, संतोष, वफादारी 19 / 75 Category: Employability Skill CBT Paper (I) 7. In MS Excel, to insert a formula in cell, we must begin the entry with an operator ___________ | एमएस एक्सेल में, सेल में एक सूत्र इन्सर्ट (सम्मिलित) करने के लिए, हमें प्रविष्टि को एक ऑपरेटर के साथ शुरू करनी चाहिए - A. $ B. @ C. # D. = 20 / 75 Category: Employability Skill CBT Paper (I) 8. Which one is NOT a benefit of oral communication? | मौखिक संचार (ओरल कम्युनिकेशन) का कौन सा लाभ नहीं है? A. It is quick | इट इस क्विक B. Feedback is immediate | फीडबैक इस इमीडियेट C. It is for record | इट इस फॉर रिकॉर्ड D. It is direct | इट इस डायरेक्ट 21 / 75 Category: Employability Skill CBT Paper (I) 9. Values are ______| मान हैं ………। A. Motivates our attitude and action | हमारे दृष्टिकोण और कार्रवाई को प्रेरित करता है B. all have same value | सभी का मूल्य समान है C. not punctual | समयनिष्ठ नहीं D. very costly | बहुत क़ीमती 22 / 75 Category: Employability Skill CBT Paper (I) 10. Which one of the following is a describing word?| निम्नलिखित में से कौन-सा एक वर्णनात्मक शब्द है? A. soup | शोरबा B. eat | खाना खा लो C. hot | गरम D. repair | मरम्मत 23 / 75 Category: Employability Skill CBT Paper (I) 11. Hard Skill ______ | कठिन कौशल…..। A. spoken English | मौखिक अंग्रेजी B. time management | समय प्रबंधन C. 60 WPM typing speed | 60 WPM टाइपिंग स्पीड D. quick learner | त्वरित शिक्षार्थी 24 / 75 Category: Employability Skill CBT Paper (I) 12. Which function key allows you to rename a file? | कौन सी फंक्शन कुंजी आपको किसी फाइल का नाम बदलने की अनुमति देती है? A. F2 B. F3 C. F1 D. F4 25 / 75 Category: Employability Skill CBT Paper (I) 13. Which one of these phrases is not related to a telephone call? | इनमें से कौन-सा वाक्यांश एक टेलीफोन कॉल से संबंधित नहीं है? A. Call back | कॉल बैक B. Hold on | होल्ड ऑन C. Pick up | पिक अप D. Make up | मेकअप 26 / 75 Category: Employability Skill CBT Paper (I) 14. CPU stands for ________ | "CPU" से तात्पर्य है A. Central Processing Unit | सेंट्रल प्रोसेसिंग यूनिट B. Central Programming Unit | सेंट्रल प्रोग्रामिंग यूनिट C. Central Planning Unit | सेंट्रल प्लानिंग यूनिट D. Central Progress Unit | सेंट्रल प्रोग्रेस यूनिट 27 / 75 Category: Employability Skill CBT Paper (I) 15. The expansion of RAM is __________| "RAM" का विस्तार है - A. Read Octet Machine | रीड ओकटेट मशीन B. Random Access Machine | रैंडम एक्सेस मशीन C. Random Access Memory | रैंडम एक्सेस मेमोरी D. Read Access Memory | रीड एक्सेस मेमोरी 28 / 75 Category: Employability Skill CBT Paper (I) 16. What does ‘ASAP’ stand for, in SMS language?| एसएमएस भाषा में "ASAP" का क्या अर्थ है ? A. As Soon As Probable | जितना संभव हो उतना जल्दी B. As Simple As Possible | जितना हो सके उतना सरल C. As Soon As Possible | जितना जल्दी हो सके D. As Silent As Probable | जितना संभव हो उतना शांत 29 / 75 Category: Employability Skill CBT Paper (I) 17. What is the cell address of 4th row and 4th column?| चौथी रो (पंक्ति) और चौथे कॉलम (स्तंभ) का सेल एड्रेस क्या होता है? A. 4D | ४ डी B. E4 | इ ४ C. B4 | बी ४ D. D4 | डी ४ 30 / 75 Category: Employability Skill CBT Paper (I) 18. What is Narrow AI? | नैरो ए.आई. क्या है? A. Can do anything | कुछ भी कर सकता है B. Does one task well | एक काम को अच्छी तरह करता है C. Talks like human | इंसान की तरह बात करता है D. Can sleep | सो सकता है 31 / 75 Category: Employability Skill CBT Paper (I) 19. Which one is NOT a vowel?| कौन सा स्वर नहीं है? A. A | ए B. E | इ C. I | आई D. F | एफ 32 / 75 Category: Employability Skill CBT Paper (I) 20. A written description of duties and responsibilities to be carried out in a job is called ___________./ किसी कार्य में किए जाने वाले कर्तव्यों और जिम्मेदारियों का लिखित विवरण ___________ कहा जाता है A. Resume / रिज्यूम B. Job description / जॉब डिस्क्रिप्शन C. CV / सीव् D. Job application / जॉब एप्लीकेशन 33 / 75 Category: Employability Skill CBT Paper (I) 21. Women are soft-spoken and forgiving ______ | महिलाएं मृदुभाषी और क्षमाशील होती हैं……..। A. always false | हमेशा झूठा B. gender stereotype | लिंग रूढ़िवादिता C. sometimes | कभी-कभी D. always true | हमेशा सत्य 34 / 75 Category: Employability Skill CBT Paper (I) 22. To be in a job or work is ______/ नौकरी या काम में होना है …… A. Skill / कौशल B. Knowledge ज्ञान C. Aptitude योग्यता D. Employ / रोजगार 35 / 75 Category: Employability Skill CBT Paper (I) 23. As compared to small scale business, large scale business require ________/ लघु उद्योग की तुलना में, बड़े पैमाने पर व्यवसाय की आवश्यकता है ..............……… A. less no. of persons / कम व्यक्तियों की B. less no. of capital / कम पूंजी की C. more no. of person / अधिक व्यक्तियों की D. small machines and tools / छोटी मशीनें और उपकरण 36 / 75 Category: Employability Skill CBT Paper (I) 24. ___________ are the abilities and qualities you have as a person that helps you grow well in life and career.| ___________ एक व्यक्ति के रूप में आपके पास मौजूद क्षमताएं और गुण हैं जो आपको जीवन और करियर में अच्छी तरह से बढ़ने में मदद करते हैं। A. Personal Strengths | व्यक्तिगत ताक़त B. Opportunities | मौके C. Threats | धमकी D. Personal weaknesses | व्यक्तिगत कमजोरियां 37 / 75 Category: Employability Skill CBT Paper (I) 25. Dedication to a particular work is called_________ | किसी विशेष कार्य के लिए समर्पण को _________ कहा जाता है A. confidence | आत्मविश्वास B. integrity | अखंडता C. Intelligence | बुद्धि D. commitment | कमिटमेंट 38 / 75 Category: Turner First Year CBT Paper (TT) 1. Which chuck is mainly used for getting a very effective grip over the job? | कौन सी चक कार्य के ऊपर प्रभावी पकड़ बनाये रखने के लिए प्रयोग की जाती है? A. Collect chuck | कोलेट च B. Push - out chucks | पुश - आउट चक C. Magnetic chuck | चुंबकीय चक D. Hydraulic chuck | हाइड्रोलिक चक 39 / 75 Category: Turner First Year CBT Paper (TT) 2. What is the specification of center lathe marked as ‘X’? | ‘X’ से चिह्नित सेंटर लेथ की विशिष्टता क्या है? A. Length between centers | सेंटरों के बीच की लंबाई B. The swing over bed | बेड पर स्विंग C. Length of the bed | बेड की लंबाई D. Size of spindle bore | स्पिंडल बोर का आकार 40 / 75 Category: Turner First Year CBT Paper (TT) 3. What is the name of given figure? | दी गई आकृति का नाम क्या है? A. Split die | स्प्लिट डाई B. Half die | हाफ डाई C. Die nut | डाई नट D. Screw plate die | स्क्रू प्लेट डाई 41 / 75 Category: Turner First Year CBT Paper (TT) 4. Which angle marked as 'X' in parting off tool? | पार्टिंग ऑफ टूल में किस कोण को 'X' के रूप में चिह्नित किया गया है? A. Side rake angle | साइड रेक एंगल B. Side cutting edge angle | साइड कटिंग एज एंगल C. Front rank angle | फ्रंट रैंक एंगल D. Side relief angle | साइड रिलीफ एंगल 42 / 75 Category: Turner First Year CBT Paper (TT) 5. What is the name of the chisel? | छेनी का नाम क्या है? A. Web | वेब B. Flat | फ्लैट C. Cross cut | क्रॉस कट D. Diamond point | डॉयमेंड पॉइंट 43 / 75 Category: Turner First Year CBT Paper (TT) 6. What is the angle of a BIS metric thread? | BIS मीट्रिक चूड़ी का कोण कितना है? A. 60° B. 55° C. 45° D. 271/2 44 / 75 Category: Turner First Year CBT Paper (TT) 7. Which part of the combination set is shown below? | कॉम्बिनेशन के किस भाग को 'X' के रूप में चिह्नित किया जाता है? A. Rule | रूल B. Centre head | सेंटर हेड C. Protractor head | प्रोटेक्टर हेड D. Square heads | स्क्वायर हेड 45 / 75 Category: Turner First Year CBT Paper (TT) 8. How is the vernier height gauge generally specified? | सामान्य तौर पर वर्नियर हाइट गेज़ का विशिष्ठिकरण किसके द्वारा प्रदर्शित किया जाता है? A. Width of beam | बीम की चौड़ाई B. Height of beam | बीम की ऊँचाई C. Size of base | आधार का माप D. Thickness of beam | बीम की मोटाई 46 / 75 Category: Turner First Year CBT Paper (TT) 9. What is the instrument shown in figure? | चित्र में दिखाया गया उपकरण क्या है? A. Depth micrometer | डेप्थ माइक्रोमीटर B. Tube micrometer | ट्यूब माइक्रोमीटर C. Digital micrometer | डिजिटल माइक्रोमीटर D. Screw thread micrometer | स्क्रू थ्रेड माइक्रोमीटर 47 / 75 Category: Turner First Year CBT Paper (TT) 10. What is marked as ‘X'? | ‘x’ द्वारा किसे चिह्नित किया गया है? A. Lead of thread | चूड़ी की लीड B. Lead screw | लीड स्क्रू C. Carriage | कैरिज D. Chuck | चक 48 / 75 Category: Turner First Year CBT Paper (TT) 11. Which taper is most commonly used as standard taper in industries? | उद्योगों में मानक शंकु के रूप में सबसे अधिक किस शंकु का उपयोग किया जाता है? A. Jarno taper | जरनो टेपर B. Brown & Sharpe taper | ब्राउन और शार्प टेंपर C. Metric taper | मीट्रिक टेपर D. Morse taper | मोर्स टेंपर 49 / 75 Category: Turner First Year CBT Paper (TT) 12. What is the name of part marked as ‘X’ in the cone pulley head stock of a lathe? | ‘X’ द्वारा खराद के हेड स्टॉक की कोन पुली में कौन सा भाग चिह्नित है? A. Head stock bull gear | हेड स्टॉक बुल गियर B. Head stock cone pulley | हेड स्टॉक कोन पुली C. Counter shaft cone pulley | काउंटर शाफ्ट शंकु चरखी D. Back gear | पीछे का गियर 50 / 75 Category: Turner First Year CBT Paper (TT) 13. What is measured on internal thread? | आंतरिक चूड़ियों में क्या मापा जाता है? A. Measuring pitch diameter | पिच व्यास मापन B. Measuring major diameter | बृहत् व्यास मापन C. Measuring effective diameter | प्रभावी व्यास मापन D. Measuring minor diameter | लघु व्यास मापन 51 / 75 Category: Turner First Year CBT Paper (TT) 14. What is the depth of ACME thread of 1” major diameter 6TPI? | किसी 1” प्रधान व्यास 6TPI वाली ACME चूड़ी की गहराई कितनी होगी? A. 0.084 B. 0.09 C. 0.080 D. 0.082 52 / 75 Category: Turner First Year CBT Paper (TT) 15. What is the purpose of side clearance given on turning tool? | खराद औजार पर साइड अवकाश का क्या उद्देश्य है? A. To prevent the tool from rubbing with work | औजार की कार्य से रगड़ को रोकने के लिए B. To increase the production | उत्पादन में वृद्धि के लिए C. To control the chip flow | चिप के प्रवाह को नियंत्रित करने के लिए D. To increase the strength of the tool | औजार की मजबूती में वृद्धि करने के लिए 53 / 75 Category: Turner First Year CBT Paper (TT) 16. What is the part 'X' marked in given figure? | दिए गए चित्र में अंकित भाग 'X' क्या है? A. Body | बॉडी B. Crown wheel | क्राउन व्हील C. Scroll | स्क्रॉल D. Back plate | थाली का पृष्ठ भाग 54 / 75 Category: Turner First Year CBT Paper (TT) 17. What is the taper ratio of solid mandrel? | ठोस मैंड्रेल का टेपर अनुपात क्या है? A. 1:40 B. 1:30 C. 1:2000 D. 1:100 55 / 75 Category: Turner First Year CBT Paper (TT) 18. What is the name of part marked ‘X’ in cone pulley head stock of lathe? | ‘X’ द्वारा खराद के हेड स्टॉक की कोन पुली में कौन सा भाग चिह्नित है? A. Pinion | पिनियन B. Back gear shaft | बैक गियर शाफ़्ट C. Chuck | चक D. Stepped cone pulley | चरणबद्ध शंकु चरखी 56 / 75 Category: Turner First Year CBT Paper (TT) 19. How the twist drill are designated? | ट्विस्ट ड्रिल को कैसे निर्दिष्ट किया जाता है? A. By length | लंबाई से B. By diameter | व्यास से C. By speed | गति से D. By feed | फ़ीड द्वारा 57 / 75 Category: Turner First Year CBT Paper (TT) 20. What is the least count of a standard metric vernier caliper? | मानक मीट्रिक वर्नियर कैलीपर का अल्पत्मांक क्या है? A. 0.1mm B. 0.2mm C. 0.002mm D. 0.02mm 58 / 75 Category: Turner First Year CBT Paper (TT) 21. Which file is used for filing surfaces at right angle on already finished surface? | पहले से तैयार सतह की समकोण पर सतह बनाने के लिए प्रयोग की जाने वाली फाइल है? A. Safe edge file | सुरक्षित किनारा फ़ाइल B. Flat file | सपाट फ़ाइल C. Curved cut file | घुमावदार कट फाइल D. Needle file | सुई फ़ाइल 59 / 75 Category: Turner First Year CBT Paper (TT) 22. What is the principle of micrometer? | माइक्रोमीटर का सिद्धांत क्या है? A. Sliding | स्लाइडिंग B. Worm and worm wheel | वर्म और वर्म व्हील C. Screw and nut | स्क्रू और नट D. Rack and pinion | रैक और पिनियन 60 / 75 Category: Turner First Year CBT Paper (TT) 23. What is the name the part marked 'X' on headstock of lathe? | ‘X’ द्वारा खराद के हेड स्टॉक का कौन सा भाग चिह्नित है? A. Tail stock | टेल स्टॉक B. Lathe spindle | लेथ स्पिंडल C. Speed change lever | स्पीड परिवर्तन लीवर D. Lathe chuck | खराद चक 61 / 75 Category: Turner First Year CBT Paper (TT) 24. Where Buttress threads are used? बट्रेस थ्रेड का उपयोग कहां किया जाता है? A. Micrometer Spindle | माइक्रोमीटर स्पिंडल B. Screw Jacks | स्क्रू जैक C. Carpentry vice | कारपेन्टरी वाइस D. Lathe Lead Screw | लेथ लीड स्क्रू 62 / 75 Category: Turner First Year CBT Paper (TT) 25. What is the taper ratio for a taper length of 20 units the difference in diameter is one unit? | 20 इकाइयों की लंबाई के लिए टेपर अनुपात व्यास का अंतर एक इकाई क्या है? A. 1 : 20 B. 3:20 C. 2:15 D. 1:15 63 / 75 Category: Turner First Year CBT Paper (TT) 26. Identify the part named as ‘X’ in a taper turning attachment. | टेपर टर्निंग अटैचमेंट में ’X’ नामक भाग को पहचानें। A. Locking screw | लॉकिंग स्क्रू B. Base plate | बेस प्लेट C. Guide bar | गाइड बार D. Box nut | बॉक्स नट 64 / 75 Category: Turner First Year CBT Paper (TT) 27. What is the angle of saw tooth thread? | आरी दाँत चूड़ी का कोण होता है? A. 45° | ४५° B. 29° | २९° C. 30° | ३०° D. 90° | ९०° 65 / 75 Category: Turner First Year CBT Paper (TT) 28. Which machine tool removes the metal from a revolving work piece with a stationery cutting tool? | स्टेशनरी कटिंग टूल के साथ घूमने वाले वर्क पीस से कौन सा मशीन टूल धातु निकालता है? A. Lathe | खराद B. Shaper | शेपर C. Grinding machine | ग्राइंडिंग मशीन D. Milling machine | मिलिंग मशीन 66 / 75 Category: Turner First Year CBT Paper (TT) 29. Which method is used to lubricate the head stock in modern lathe? | आधुनिक लेथ के हेड स्टॉक में किस स्नेहन विधि का प्रयोग किया जाता है? A. Splash lubrication | स्प्लैश स्नेहन B. Oil pump method | आयल पंप विधि C. Gravity feed | ग्रेविटी फीड D. Wick feed | विक फीड 67 / 75 Category: Turner First Year CBT Paper (TT) 30. How many teeth are in translating gear for cutting metric thread on British lathe? | ब्रिटिश लेथ पर मीट्रिक चूड़ी काटने वाले ट्रांस्लातिंग गियर में दांतों की संख्या होती है? A. 127 | १२७ B. 125 | १२५ C. 129 | १२९ D. 122 | १२२ 68 / 75 Category: Turner First Year CBT Paper (TT) 31. Calculate the maximum limit of size from the given data 100+0.015-0.010? | 100+0.015-0.010 प्रस्तुत डाटा के माप की उच्चतम सीमा ज्ञात कीजिये A. 99.095 B. 100.005 C. 99.085 D. 100.015 69 / 75 Category: Turner First Year CBT Paper (TT) 32. What is the name of micrometer? | इस माइक्रोमीटर का नाम क्या है? A. Inside micrometer | इनसाइड माइक्रोमीटर B. Depth micrometer | डेप्थ माइक्रोमीटर C. Outside micrometer | आउटसाइड माइक्रोमीटर D. Vernier micrometer वर्नियर माइक्रोमीटर 70 / 75 Category: Turner First Year CBT Paper (TT) 33. What type of taper provided on the shank of lathe center? | लेथ केंद्र की शंक में दिए गए टेपर का प्रकार है? A. Jaron | जर्नो B. Brown& sharp | ब्राउन और शार्प C. Metric | मीट्रिक D. Morse | मोर्स 71 / 75 Category: Turner First Year CBT Paper (TT) 34. Which part of carriage is only for possible manual operation? | कैरिज के कौन से भाग का केवल हस्त परिचालन संभव है? A. Saddle | सैडल B. Apron | एप्रन C. Top slide | शीर्ष स्लाइड D. Cross slide | क्रॉस स्लाइड 72 / 75 Category: Turner First Year CBT Paper (TT) 35. What is the name of tap wrench? | इस टैप रिंच का क्या नाम है? A. Solid type tap wrench | सॉलिड टाइप टैप रिंच B. ‘T’ Handle tap wrench | T' हैंडल टैप रिंच C. Box type tap wrench | बॉक्स टाइप टैप रिंच D. Adjustable tap wrench | एडजस्टेबल टैप रिंच 73 / 75 Category: Turner First Year CBT Paper (TT) 36. Which type of fit is obtain of the hole is bigger than the shaft? | छेद किस प्रकार का फिट है जो शाफ्ट से बड़ा है? A. Interference fit | इन्टरर्फेन्स फिट B. Clearance fit | क्लीयरेंस फिट C. Transition fit | ट्रांजिशन फिट D. Tight fit | टाइट फिट 74 / 75 Category: Turner First Year CBT Paper (TT) 37. What type of thread can be produced by a die? | डाई द्वारा किस प्रकार की चूड़ी उत्पादित की जाती है? A. External square thread | बाहरी चौकोर चूड़ी B. External V - thread | बाहरी V - चूड़ी C. Internal square thread | आंतरिक वर्ग चूड़ी D. Internal V - thread | आंतरिक V - चूड़ी 75 / 75 Category: Turner First Year CBT Paper (TT) 38. What is the minor diameter of thread? | थ्रेड का लघु व्यास ज्ञात करने का सूत्र क्या है? A. Minor dia = Major dia + (2 x pitch) | लघु व्यास = प्रमुख व्यास + (2 × पिच) B. Minor dia = Major dia – (2 x pitch) | लघु व्यास = प्रमुख व्यास – (2 × पिच) C. Minor dia = Major dia – (2 x depth) | लघु व्यास = प्रमुख व्यास – (2 × गहराई) (सही विकल्प) (चुना गया विकल्प) D. Minor dia = Major dia + (2 x depth) | लघु व्यास = प्रमुख व्यास + (2 × गहराई) Your score isThe average score is 0% 0% Restart quiz Exit WhatsApp और YouTube चैनल से जुड़े रहना Whats App CBT Practice Paper Electrician COPA Fitter Draughtsman Mechanic Fashion Design & Technology Electronic Mechanic Architectural Draughtsman Aeronautical Structure and Equipment Fitter Draughtsman Civil अत्यधिक चर्चा में Sample Paper ITI Supplementary Exam Eligibility December 2025: Attendance और FA से जुड़े महत्वपूर्ण नियम | DGT के नए आदेश की पूरी जानकारी NCVT सप्लीमेंट्री/लेफ्टओवर परीक्षा (दिसम्बर-2025): उत्तर प्रदेश के प्रशिक्षार्थियों के लिए SCVT पोर्टल पर पंजीकरण शुरू SIDH पोर्टल पर कब होंगे बाकी बचे Trainee Migrate? CTS एडमिशन और डेटा अपलोड की अंतिम तिथि क्या है? DGT API Schedule PRADAN Taluk Coordinator Recruitment 2025: कर्नाटक में 32-36 हजार वेतन के साथ नई भर्ती Bank of India Recruitment 2025: स्केल-II, III और IV ऑफिसर्स की बड़ी भर्ती – आवेदन शुरू