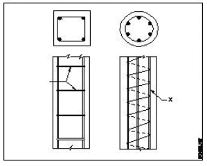
Draughtsman Civil Second Year CBT Paper – Free Practice Set -3By itikegyani.com / October 20, 2024 0% 0 यह पेपर 2 घंटे का है 2 घंटे बाद पेपर अपने आप सबमिट हो जायेगा और आप चाहें तो 2 घंटे से पहले भी सबमिट कर सकते है| सॉरी समय समाप्त हो गया| Draughtsman Civil CBT Paper Second Year (Quiz -3) इस पेपर में 75 प्रशन है जिसमे Trade Tehory के 44 प्रशन, Workshop Calculation and Science के 06 प्रशन, Employability Skill के 25 प्रशन , प्रत्येक प्रशन 2 मार्क्स का है और किसी प्रकार की नेगेटिव मार्किंग नहीं है| 1 / 75 Category: Employability Skill CBT Paper (II) 1. Fill up the blanks with suitable words so as to become a meaningful sentence. | रिक्त स्थानों में उपयुक्त शब्द भरकर एक सार्थक वाक्य बनाइए Rainwater harvesting _______ to prevent water scarcity | जल की कमी को रोकने के लिए वर्षा जल संचयन _______ करता है। A. helps | मदद करता है B. gave | दिया C. help | मदद करें D. gives | देता है 2 / 75 Category: Employability Skill CBT Paper (II) 2. A Beautyparlor staff follows environment friendly actions by means of _______ | एक ब्यूटीपार्लर स्टाफ _______ के माध्यम से पर्यावरण अनुकूल गतिविधियों का पालन करता है A. using plastic gloves. | प्लास्टिक के दस्ताने के उपयोग B. using non plastic materials, disposing wastes in an environment friendly way. | गैर प्लास्टिक सामग्री का उपयोग, पर्यावरण के अनुकूल तरीके से कचरे के निपटान C. reusing the consumable items. | उपभोज्य(कन्स्यूमेबल) वस्तुओं के पुन: उपयोग D. using plastic cups. | प्लास्टिक कप के उपयोग 3 / 75 Category: Employability Skill CBT Paper (II) 3. What is an example of formal written communication? | फॉर्मल रिटेन कम्युनिकेशन का उदाहरण क्या है? A. Writing an email to your manager | अपने प्रबंधक को एक ईमेल लिखना B. Texting a friend | किसी मित्र को संदेश भेजना C. Sending a WhatsApp message | व्हाट्सएप पर संदेश भेजना D. Posting on social media platforms | सोशल मीडिया प्लेटफॉर्म पर पोस्ट करना 4 / 75 Category: Employability Skill CBT Paper (II) 4. A software application used to enable computer users to locate and access web page is called ___________ | कंप्यूटर उपयोगकर्ताओं को वेब पेज का पता लगाने और उस तक पहुंचने में सक्षम बनाने के लिए उपयोग किया जाने वाला सॉफ़्टवेयर एप्लिकेशन ___________ कहलाता है A. email | ईमेल B. web browser | वेब ब्राउज़र C. web server | वेब सर्वर D. website | वेबसाइट 5 / 75 Category: Employability Skill CBT Paper (II) 5. Which is an example of being open to learning in the workplace? | कार्यस्थल में ओपन लर्निंग का एक उदाहरण कौन सा है? A. Ignoring advancements in technology | प्रौद्योगिकी में प्रगति को नजरअंदाज करना B. Avoiding feedback from colleagues | सहकर्मियों से फीडबैक लेने से बचना C. Accepting and adapting to changes in work processes | कार्य प्रक्रियाओं में परिवर्तनों को स्वीकार करना और अपनाना D. Refusing to attend training sessions to improve technology skills | टेक्नोलॉजी स्किल्स में सुधार के लिए प्रशिक्षण सत्रों में भाग लेने से इनकार करना 6 / 75 Category: Employability Skill CBT Paper (II) 6. If you are making a new app useful for the people. Why it is important to test it? | अगर आप लोगों के लिए उपयोगी कोई नया ऐप बना रहे हैं। इसका टेस्ट करना क्यों आवश्यक है? A. To show people how good you are at making apps | लोगों को यह दिखाने के लिए कि आप ऐप्स बनाने में कितने अच्छे हैं B. To see how people use it and make it better | यह देखने के लिए कि लोग इसका उपयोग कैसे करते हैं और इसे बेहतर बनाते हैं C. Because it's fun to watch others try your app | क्योंकि दूसरों को अपना ऐप आज़माते हुए देखना मज़ेदार है D. To check if people like the colors and pictures | यह जांचने के लिए कि लोगों को रंग और तस्वीरें पसंद हैं या नहीं 7 / 75 Category: Employability Skill CBT Paper (II) 7. On completion of your ITI training what is the first step to get a job _______ | आपके ITI प्रशिक्षण के पूरा होने पर नौकरी पाने के लिए पहला कदम क्या है _______ A. joining letter | ज्वाइनिंग लेटर B. report for work काम के लिए रिपोर्ट C. wait for job offer नौकरी की पेशकश की प्रतीक्षा करें D. applying for jobs | नौकरियों के लिए आवेदन करना 8 / 75 Category: Employability Skill CBT Paper (II) 8. Miscommunication can lead to ________ | मिस कम्युनिकेशन(संचार) से ________ हो सकता है । A. build relationships | रिलेशनशिप बिल्ड करने में B. see effective results | प्रभावी परिणाम देखने में C. successful planning | सफल योजना बनाने में D. create misunderstanding | गलतफहमी पैदा करने में 9 / 75 Category: Employability Skill CBT Paper (II) 9. Ways in which you can improve your technology Skills? | आप किन तरीकों से अपनी टेक्नोलॉजी स्किल में सुधार कर सकते हैं? A. Social service | सामाजिक सेवा B. Reading books | किताबें पढ़ना C. Social media, Online digital tools | सोशल मीडिया, ऑनलाइन डिजिटल उपकरण D. Handwork | हस्तकला 10 / 75 Category: Employability Skill CBT Paper (II) 10. If your first design of design thinking doesn't work, what should you do? | यदि डिज़ाइन थिंकिंग का आपका पहला डिज़ाइन काम नहीं करता है, तो आपको क्या करना चाहिए? A. Purchase some other design | कोई और डिज़ाइन खरीदना चाहिए B. Ask for feedback and try to improve | फीडबैक मांगना और सुधार करने का प्रयास करना चाहिए C. Make something else | कुछ और बनाना चाहिए D. Give up on it | इसे छोड़ देना चाहिए 11 / 75 Category: Employability Skill CBT Paper (II) 11. What is a common reason for people to migrate for work? | लोगों के काम के लिए माइग्रेट करने का सामान्य कारण क्या है? A. To find better job opportunities | नौकरी के बेहतर अवसर ढूंढने के लिए B. To spend time with family | परिवार के साथ समय बिताने के लिए C. To explore new places | नई जगहों का पता लगाने के लिए D. To learn new languages | नई भाषाएँ सीखने के लिए 12 / 75 Category: Employability Skill CBT Paper (II) 12. The physical part of a computer is called ________ | कंप्यूटर के भौतिक भाग को ________ कहा जाता है A. malware | मालवेयर B. hardware | हार्डवेयर C. software | सॉफ़्टवेयर D. spyware | स्पाइवेयर 13 / 75 Category: Employability Skill CBT Paper (II) 13. How can Instagram, linkedIn, and YouTube help you in finding a job? | इंस्टाग्राम, लिंक्डइन और यूट्यूब आपको नौकरी ढूंढने में कैसे मदद कर सकते हैं? A. Its available in mobile | यह मोबाइल पर उपलब्ध है B. Connecting you with company, professionals faster | आपको कंपनी, प्रोफेशनल्स से तेजी से जोड़ रहा है C. As informed by others | जैसा कि अन्य लोगों द्वारा बताया गया है D. Its economical | यह किफायती है 14 / 75 Category: Employability Skill CBT Paper (II) 14. When searching for new information on Google, why is it important to use the right words? | Google पर नई जानकारी खोजते समय सही शब्दों का उपयोग करना क्यों महत्वपूर्ण है? A. To change the color of the search page | सर्च पेज का रंग बदलने के लिए B. To find correct and useful information | सही और उपयोगी जानकारी पाने के लिए C. To learn a new language | एक नई भाषा सीखने के लिए D. To make the screen brighter | स्क्रीन को ब्राइट बनाने के लिए 15 / 75 Category: Employability Skill CBT Paper (II) 15. Which of the following is self-management skills? | निम्नलिखित में से कौन सा सेल्फ-मैनेजमेंट स्किल है? A. Adaptability and Flexibility | अडाप्टेबिलिटी और फ्लेक्सिबिलिटी B. Speaking skill | स्पीकिंग स्किल C. Writing skill | राइटिंग स्किल D. Listening skill | लिसनिंग स्किल 16 / 75 Category: Employability Skill CBT Paper (II) 16. The first version of a product/service is called _______ | किसी प्रोडक्ट/सर्विस पहला संस्करण _______ कहलाता है A. first initiative | फर्स्ट इनिशिएटिव B. prototype | प्रोटोटाइप C. model product | मॉडल प्रोडक्ट D. first edition | फर्स्ट एडिशन 17 / 75 Category: Employability Skill CBT Paper (II) 17. ________ is a time when you, your family, and your teacher meet and interact to understand and support each other better. | ________ वह समय होता है जब आप, आपका परिवार और आपके शिक्षक एक दूसरे को बेहतर ढंग से समझने और समर्थन करने के लिए मिलते हैं और बातचीत करते हैं। A. Family engagement | फैमिली इंगेजमेंट B. Family tour | फैमिली टूर C. Family income | फैमिली इनकम D. Family meeting | फैमिली मीटिंग 18 / 75 Category: Employability Skill CBT Paper (II) 18. The ability to connect well with people is known as _______. | लोगों के साथ अच्छी तरह से जुड़ने की क्षमता को _______ के रूप में जाना जाता है। A. time management | टाइम मैनेजमेंट B. leadership | लीडरशिप C. interpersonal skill | इंटरपर्सनल स्किल D. creativity | क्रिएटिविटी 19 / 75 Category: Employability Skill CBT Paper (II) 19. While writing an email, why it is important to state the subject clearly? | ईमेल लिखते समय विषय का स्पष्ट रूप से उल्लेख करना क्यों महत्वपूर्ण है? A. To show he has good English skills | यह दिखाने के लिए कि उसके पास अंग्रेजी का अच्छा कौशल है B. Email cannot be sent without a subject line | विषय पंक्ति के बिना ईमेल नहीं भेजा जा सकता है C. To tell the company what the email is about | कंपनी को यह बताने के लिए कि ईमेल किस बारे में है D. Subject should not be left blank | विषय को खाली नहीं छोड़ा जाना चाहिए 20 / 75 Category: Employability Skill CBT Paper (II) 20. After preparing the resume, the next important step to do is _____ | बायोडाटा तैयार करने के बाद अगला महत्वपूर्ण कदम है _____ A. preparing for interview. | साक्षात्कार की तैयारी करना B. applying for the job. | नौकरी के लिए आवेदन करना C. sending the resume to the employer. | एम्प्लायर को बायोडाटा भेजना D. writing an impressive cover letter. | एक प्रभावशाली कवर लेटर लिखना 21 / 75 Category: Employability Skill CBT Paper (II) 21. Making a good choice means ________ | एक अच्छा विकल्प चुनने का अर्थ है ________ A. Talking a lot | खूब बातें करना B. Looking closely, then deciding | बारीकी से देखना, फिर निर्णय लेना C. Not looking | नहीं देखना D. Deciding quickly | शीघ्रता से निर्णय लेना 22 / 75 Category: Employability Skill CBT Paper (II) 22. While talking about your business plan to the audience, how will you make them to understand your product better? | दर्शकों को अपने बिज़नेस प्लान के बारे में बात करते समय, आप उन्हें अपने प्रोडक्ट को बेहतर ढंग से कैसे समझाएँगे? A. Give demo of the product/service | प्रोडक्ट/सर्विस का डेमो दीजिए B. Tell a joke | एक जोक सुनाएँ C. Repeat yourself multiple times | "अपने आप को कई बार दोहराएं" D. Share overall business costs | ओवरऑल बिज़नेस लागत शेयर करना 23 / 75 Category: Employability Skill CBT Paper (II) 23. If your coworkers don't agree with your project idea, what's a good way to handle it with an entrepreneurial mindset? | यदि आपके सहकर्मी आपके प्रोजेक्ट विचार से सहमत नहीं हैं, तो उद्यमशीलता की मानसिकता के साथ इसे संभालने का एक अच्छा तरीका क्या है? A. Ask for feedback and make your idea better with their help | फीडबैक मांग कर और उनकी मदद से अपने विचार को बेहतर बनाना चाहिए B. Give up on your idea | अपने आईडिया को छोड़ देना चाहिए C. Stop talking about it | इसके बारे में बात करना बंद करना चाहिए D. Stick to your idea without listening to others | दूसरों की बात सुने बिना अपने विचार पर कायम रहना चाहिए 24 / 75 Category: Employability Skill CBT Paper (II) 24. Which of the following are included in a resume? | बायोडाटा में निम्नलिखित में से क्या शामिल होता है? A. Contact information, educational details, skills and work experience | संपर्क जानकारी, शैक्षिक विवरण, कौशल और कार्य अनुभव B. Childhood memories, dreams, and aspirations | बचपन की यादें, सपने और आकांक्षाएँ C. Hobbies, favorite foods, and personal interests | शौक, पसंदीदा भोजन और व्यक्तिगत रुचियाँ D. Daily routine, favorite movies, and vacation plans | दैनिक दिनचर्या, पसंदीदा फिल्में और छुट्टियों की योजनाएँ 25 / 75 Category: Employability Skill CBT Paper (II) 25. The ability to wait and stay calm ______ | प्रतीक्षा करने और शांत रहने की क्षमता ______ है । A. problem solving | प्रॉब्लम सॉल्विंग B. interpersonal skill | इंटरपर्सनल स्किल C. creativity | क्रिएटिविटी D. patience | पेशेंस 26 / 75 Category: Draughtsman Civil Second Year CBT Paper (TT) 1. Which water tight underground tank,admit for sewage treatment? | कौन सी जलरोधी भूमिगत टंकी, सीवेज को उपचार के लिए स्वीकार करती है? A. Sewage water tank | सीवेज पानी की टंकी B. Flushing tanks | फ्लशिंग टैंक C. Drinking water tank | पीने के पानी की टंकी D. Septic Tank | सेप्टिक टैंक 27 / 75 Category: Draughtsman Civil Second Year CBT Paper (TT) 2. What is the advantage of photogrammetry? | फोटोग्राममिति का लाभ क्या है? A. Covers large area | बड़ा क्षेत्र कवर करता है B. Weather dependent | मौसम पर निर्भर C. Complex system | जटिल सिस्टम D. Costlier | महंगा 28 / 75 Category: Draughtsman Civil Second Year CBT Paper (TT) 3. Which material is suitable for caisson of open well type? | खुले कुएं के प्रकार के लिए कौन सी सामग्री उपयुक्त है? A. Cast iron | कास्ट आयरन B. Timber | टिम्बर C. Steel | स्टील D. RCC | एरसीसी 29 / 75 Category: Draughtsman Civil Second Year CBT Paper (TT) 4. What is the name of the built up area at the floor level? | फर्श स्तर पर निर्मित क्षेत्र का नाम क्या है? A. Plinth area | प्लिंथ क्षेत्र B. Plinth level | प्लिंथ स्तर C. Plinth | प्लिंथ D. Plinth height | प्लिंथ ऊंचाई 30 / 75 Category: Draughtsman Civil Second Year CBT Paper (TT) 5. Which of the following is the basic need of a human being? | निम्नलिखित में से कौन सा मनुष्य की मूलभूत आवश्यकता है? A. Tree | वृक्ष B. Sheet | शीट C. Huts | झोपड़ियाँ D. Shelter | शेल्टर 31 / 75 Category: Draughtsman Civil Second Year CBT Paper (TT) 6. What is the maximum size of particle in fine aggregate? | फाइन एग्रीगेट में कण का अधिकतम आकार क्या है? A. 2.75 mm | २.७५ मिलीमीटर B. 3.75 mm | ३.७५ मिलीमीटर C. 4.75 mm | ४.७५ मिलीमीटर D. 5.75 mm | ५.७५ मिलीमीटर 32 / 75 Category: Draughtsman Civil Second Year CBT Paper (TT) 7. What condition does the LCD screen not work? | किन परिस्थितियों में, LCD स्क्रीन काम नहीं करती है? A. Hot | हॉट B. Wind | वाइन्ड C. Warm | वार्म D. Cold | कोल्ड 33 / 75 Category: Draughtsman Civil Second Year CBT Paper (TT) 8. What is the name of estimate prepared to maintain the structure or work in safe condition? | किसी संरचना या कार्य को सुरक्षित स्थिति में बनाए रखने के लिए तैयार किए गए अनुमान का नाम क्या है? A. Supplementary estimate | अनुपूरक प्राक्कलन B. Revised estimate | संशोधित प्राक्कलन C. Extension estimate | विस्तार प्राक्कलन D. Annual repair estimate | वार्षिक अनुरक्षण प्राक्कलन 34 / 75 Category: Draughtsman Civil Second Year CBT Paper (TT) 9. What is the minimum shoulder width recommended by IRC? | IRC द्वारा अनुशंसित न्यूनतम शॉल्डर चौड़ाई क्या है? A. 2.5m | 2.5 मीटर B. 2m | 2 मीटर C. 1.85m | 1.85 मीटर D. 1.30m | 1.30 मीटर 35 / 75 Category: Draughtsman Civil Second Year CBT Paper (TT) 10. Which method of valuation is capitalized value = Actual cost of construction - Depreciation? | मूल्यांकन की कौन सी विधि पूंजीकृत मूल्य = निर्माण की वास्तविक लागत - मूल्यह्रास A. Direct comparison | सीधी तुलना B. Valuation based on cost | लागत के आधार पर मूल्यांकन C. Rental method of valuation | मूल्यांकन की किराये की विधि D. Development method of valuation | मूल्यांकन की विकास विधि 36 / 75 Category: Draughtsman Civil Second Year CBT Paper (TT) 11. How many mazdoor or helper is required per mason for brick work? | ईंट के काम के लिए प्रति राजमिस्त्री कितने मजदूर या सहायक की आवश्यकता होती है? A. 4 B. 1 C. 2 D. 3 37 / 75 Category: Draughtsman Civil Second Year CBT Paper (TT) 12. Which class of building specification that damp proof course shall be of 2 cm thick cement concrete 1:2:4 standard water proofing materials? | भवन विनिर्देशन के किस वर्ग का डैम्प प्रूफ कोर्स 2 सेमी मोटी सीमेंट कंक्रीट 1:2:4 मानक वाटर प्रूफिंग सामग्री का होगा? A. Fourth class building specification | चतुर्थ श्रेणी भवन विनिर्देशन B. First class building specification | प्रथम श्रेणी भवन विनिर्देशन C. Second class building specification | द्वितीय श्रेणी भवन विनिर्देशन D. Third class building specification | तृतीय श्रेणी भवन विनिर्देशन 38 / 75 Category: Draughtsman Civil Second Year CBT Paper (TT) 13. What is the advantage of slump test of concrete? | कंक्रीट के स्लंप टेस्ट का लाभ क्या है? A. Reliable for lean mixes | लीन मिक्स के लिए विश्वसनीय B. Suitable for concrete aggregate exceeds to 40 mm | 40 मिमी से अधिक कंक्रीट एग्रीगेट के लिए उपयुक्त C. It is simple and easy to check the work ability of concrete | कंक्रीट की कार्य क्षमता की जांच करना सरल और आसान है D. Slump test occur in case of dry mixer also | ड्राई मिक्सर के मामले में भी स्लंप टेस्ट होता है 39 / 75 Category: Draughtsman Civil Second Year CBT Paper (TT) 14. What advantage of cold former steel members over reinforced concrete and timber? | प्रबलित कंक्रीट और लकड़ी पर ठंडे फॉर्मर स्टील के सदस्यों का क्या फायदा है? A. Shrinking and creeping at temperature | तापमान पर सिकुड़ना और क्रीपिंग B. Termite - proof and rot proof | टर्माइट प्रूफ और रॉट प्रूफ C. Economical | किफ़ायती D. Less accurate detailing | कम सटीक विवरण 40 / 75 Category: Draughtsman Civil Second Year CBT Paper (TT) 15. What is the name of the concrete, that are prepared at factory and erected at site? | कंक्रीट का नाम क्या है, जिसे कारखाने में तैयार किया जाता है और साइट पर खड़ा किया जाता है? A. Pre-casted concrete | प्री-कास्ट कंक्रीट B. Post-tensioned concrete | पोस्ट टेंशनड कंक्रीट C. Pre-stressed concrete | प्रीस्ट्रैस्सड कंक्रीट D. Post-casted concrete | पोस्ट-कास्टेड कंक्रीट 41 / 75 Category: Draughtsman Civil Second Year CBT Paper (TT) 16. What will be the area for small size of parks? | छोटे आकार के पार्कों का क्षेत्रफल कितना होगा? A. From 1 hectare to 4 hectare | 1 हेक्टेयर से 4 हेक्टेयर तक B. From 1 hectare to 3 hectare | 1 हेक्टेयर से 3 हेक्टेयर तक C. From 1 hectare to 5 hectare | 1 हेक्टेयर से 5 हेक्टेयर तक D. From 1 hectare to 2 hectare | 1 हेक्टेयर से 2 हेक्टेयर तक 42 / 75 Category: Draughtsman Civil Second Year CBT Paper (TT) 17. What is the equation for mechanical widening on curve? | वक्र पर यांत्रिक चौड़ीकरण के लिए समीकरण क्या है? A. V/9.5√R B. nl²/2R C. (nl²/2R) + (V/9.5√R) D. l²/2R 43 / 75 Category: Draughtsman Civil Second Year CBT Paper (TT) 18. What is length of one 'U' type hook? | एक 'U' टाइप हुक की लंबाई क्या है? A. 9φ B. 18φ C. 8φ D. 4φ 44 / 75 Category: Draughtsman Civil Second Year CBT Paper (TT) 19. Which cement concrete proportion is used for damp proofing first class building? | प्रथम श्रेणी की इमारत को डैम्प प्रूफिंग बनाने के लिए किस सीमेंट कंक्रीट अनुपात का उपयोग किया जाता है? A. 1:2:6 B. 1:1.5:3 C. 1:4:8 D. 1:2:4 45 / 75 Category: Draughtsman Civil Second Year CBT Paper (TT) 20. What is the name of assembling structural components at site? | साइट पर संरचनात्मक घटकों को इकट्ठा करने का नाम क्या है? A. Full pre-fab system | पूर्ण पूर्व-फैब प्रणाली B. Open pre-fab system | ओपन पूर्व-फैब प्रणाली C. Partial pre-fab system | आंशिक पूर्व-फैब प्रणाली D. Closed pre-fab system | क्लोज्ड पूर्व-फैब प्रणाली 46 / 75 Category: Draughtsman Civil Second Year CBT Paper (TT) 21. Which direction does rail creep occurs? | रेल क्रीप किस दिशा में होता है? A. Lateral | पार्श्व B. Transverse | अनुप्रस्थ C. Longitudinal | अनुदैर्ध्य D. Vertical | ऊर्ध्वाधर 47 / 75 Category: Draughtsman Civil Second Year CBT Paper (TT) 22. What is the name of the point marked as 'x' shown in the figure? | 'X' के रूप में चिह्नित बिंदु का नाम क्या है? A. Centre point of array | एरे का केंद्र बिंदु B. Midpoint of dollar | डॉलर का मध्य बिंदु C. Centre point of leader line | लीडर लाइन का केंद्र बिंदु D. Midpoint of offset | ऑफसेट का मध्य बिंदु 48 / 75 Category: Draughtsman Civil Second Year CBT Paper (TT) 23. Which material is made by PVC pipes? | PVC पाइप द्वारा कौन सी सामग्री बनाई जाती है? A. Silver | सिल्वर B. Steel | स्टील C. Copper | कॉपर D. Plastic | प्लास्टिक 49 / 75 Category: Draughtsman Civil Second Year CBT Paper (TT) 24. What is the quantity of paint ready mixed for painting one coat for 100 sq.m? | 100 वर्ग मीटर के लिए एक कोट को पेंट करने के लिए तैयार मिश्रित पेंट की मात्रा कितनी है? A. 10 litre |10 लीटर B. 20 litre | 20 लीटर C. 5 litre | 5 लीटर D. 15 litre | 15 लीटर 50 / 75 Category: Draughtsman Civil Second Year CBT Paper (TT) 25. Which program is used to determine polygonal distance? | बहुभुज दूरी को निर्धारित करने के लिए किस प्रोग्राम का उपयोग किया जाता है? A. Resection | रीसेक्शन B. Free station | फ्री स्टेशन C. Reference line | संदर्भ लाइन D. Tie distance | टाई डिस्टेंस 51 / 75 Category: Draughtsman Civil Second Year CBT Paper (TT) 26. Which group of building is used for housing persons suffering from physical limitation because of health or age? | भवन का कौन सा समूह स्वास्थ्य या उम्र के कारण शारीरिक अक्षमता से पीड़ित व्यक्तियों के आवास के लिए उपयोग किया जाता है? A. C - 2 B. C - 1 C. D - 1 D. C - 3 52 / 75 Category: Draughtsman Civil Second Year CBT Paper (TT) 27. What is the name of the part marked as 'x' shown in figure? | 'X' के रूप में चिह्नित भाग का नाम क्या है? A. Spiral reinforcement | सर्पिल सुदृढीकरण B. Cover | कवर C. Lateral ties | लेटरल टाइस D. Vertical main steel | ऊर्ध्वाधर मुख्य स्टील 53 / 75 Category: Draughtsman Civil Second Year CBT Paper (TT) 28. Which bridge composed of several small spans for crossing a valley? | घाटी को पार करने के लिए किस पुल से कई छोटे-छोटे स्पैन बने होते हैं? A. Aqueduct | एक्वाडक्ट B. Deck | डेक C. Fort | फॉर्ट D. Viaduct | वायाडक्ट 54 / 75 Category: Draughtsman Civil Second Year CBT Paper (TT) 29. What is used for fixing the rails to the wooden sleepers? | लकड़ी के स्लीपरों की पटरियों को ठीक करने के लिए क्या उपयोग किया जाता है? A. Bearing plates | बियरिंग प्लेटें B. Fish bolt | फिश बोल्ट C. Rail chair | रेल चेयर D. Spikes | स्पाइक 55 / 75 Category: Draughtsman Civil Second Year CBT Paper (TT) 30. Which operation need to be done during earthquake? | भूकंप के दौरान निम्नलिखित में से कौन सा ऑपरेशन करने की आवश्यकता है? A. Check your gas lines | अपनी गैस लाइनों की जाँच करना B. Cover and hold on under a desk/table | डेस्क/टेबल के नीचे ढककररखना C. Standing near the window | खिड़की के पास खड़ा होना D. Collect and put together an emergency kit | कोलेट और एक आपातकालीन किट को एक साथ रखना 56 / 75 Category: Draughtsman Civil Second Year CBT Paper (TT) 31. What is the grade of concrete for the concrete mix proportion is 1:1.5:3? | कंक्रीट मिश्रण अनुपात के लिए कंक्रीट का ग्रेड 1: 1.5: 3 है? A. M 15 B. M 10 C. M 25 D. M 20 57 / 75 Category: Draughtsman Civil Second Year CBT Paper (TT) 32. What is the first watering before sowing the crop? | फसल को बोने से पहले पहला पानी देना क्या है? A. Kor watering | कोर काल B. Delta | डेल्टा C. Paleo | पैलियो D. Duty | ड्यूटी 58 / 75 Category: Draughtsman Civil Second Year CBT Paper (TT) 33. Which canal is classified based on nature of supply? | निम्नलिखित में से किस नहर को आपूर्ति की प्रकृति के आधार पर वर्गीकृत किया गया है? A. Feeder | फीडर B. Navigation | नेविगेशन C. Permanent | स्थायी D. Carrier | कैरियर 59 / 75 Category: Draughtsman Civil Second Year CBT Paper (TT) 34. Which shape of the surface drain is most preferred for heavy discharge in road? | सड़क में भारी डिस्चार्ज के लिए सतह नाली का कौन सा आकार सबसे अधिक पसंद किया जाता है? A. Semicircular | अर्धवृत्ताकार B. V shaped | V के आकार का C. U shaped | U के आकार का D. Rectangular | आयताकार 60 / 75 Category: Draughtsman Civil Second Year CBT Paper (TT) 35. What is the purpose of plumbing? | प्लंबिंग का उद्देश्य क्या है? A. Removal sewage system | सीवेज सिस्टम हटाना B. Distribution of drinking water and Removal of wastes water | पेयजल का वितरण एवं उपयोग तथा अपशिष्ट जल का निष्कासन C. Removal drain system | निष्कासन नाली प्रणाली D. Removal water system | निष्कासन जल व्यवस्था 61 / 75 Category: Draughtsman Civil Second Year CBT Paper (TT) 36. Which crossing is used where road and the railway line cross each other at the same level? | जहां सड़क और रेलवे लाइन एक दूसरे को समान स्तर पर पार करती हैं वहां किस क्रॉसिंग का उपयोग किया जाता है? A. Gradient | ग्रेडियेंट B. Loop line | लूप लाइन C. Wheel on level | स्तर पर पहिया D. Level crossing | लेवल क्रॉसिंग 62 / 75 Category: Draughtsman Civil Second Year CBT Paper (TT) 37. What is the name for accumulation of water in the form of an artificial lake? | कृत्रिम झील के रूप में पानी के संचय के लिए क्या नाम है? A. Groynes | ग्रोइनेस B. Reservoir | जलाशय C. Barrages | बैराज D. Spill ways | स्पिल वे 63 / 75 Category: Draughtsman Civil Second Year CBT Paper (TT) 38. What is marked as 'X' shown in figure? | 'X' के रूप में क्या चिह्नित है? A. Slope height | स्लोप हाइट B. Height of collimation | कोलीमेशन की ऊँचाई C. Instrumental height | उपकरण की ऊँचाई D. Reflector height | परावर्तक ऊंचाई 64 / 75 Category: Draughtsman Civil Second Year CBT Paper (TT) 39. What is the name of the bridge shown in figure? | कौन सा पुल चित्र में दिखाया गया है? A. Suspension | निलंबन(सस्पेंशन ) B. Deck | डेक C. Semi through | सेमी थ्रो D. Through | थ्रो 65 / 75 Category: Draughtsman Civil Second Year CBT Paper (TT) 40. Which group of building is used for shops, stores, departmental stores with area up to 500 m2? | भवन के किस समूह में 500 m2 तक क्षेत्रफल वाली दुकानें, स्टोर, डिपार्टमेंटल स्टोर का उपयोग किया जाता है? A. F - 1 B. F - 2 C. F - 3 D. E - 1 66 / 75 Category: Draughtsman Civil Second Year CBT Paper (TT) 41. What is the name of the command shown in the figure? | नीचे दिए गए आंकड़े में कमांड का नाम क्या है? A. Offset | ऑफसेट B. Multi line | मल्टी लाइन C. Construction line | कंस्ट्रेक्शन लाइन D. P line | P लाइन 67 / 75 Category: Draughtsman Civil Second Year CBT Paper (TT) 42. Which precaution should be taken for site selection to prevent earthquake? | भूकंप को रोकने के लिए स्थल चयन के लिए कौन सी सावधानी बरती जानी चाहिए? A. Continuity of subsoil | सबसॉइल की निरंतरता B. On sloping ground | ढलान वाली जमीन पर C. Near unstable embankments | अस्थिर तटबंधों के पास D. Columns of different height | अलग-अलग ऊंचाई के स्तंभ 68 / 75 Category: Draughtsman Civil Second Year CBT Paper (TT) 43. What is the practice of determining the geometric properties of objects from photographic images? | फोटोग्राफिक छवियों से वस्तुओं के ज्यामितीय गुणों को निर्धारित करने का अभ्यास क्या है? A. Positioning | पोजिशनिंग B. Remote sensing | रिमोट सेंसिंग C. Photogrammetry | फोटोग्रामेट्री D. Orientation | ओरीएनटेशन 69 / 75 Category: Draughtsman Civil Second Year CBT Paper (TT) 44. Which span the plate girders are used? | प्लेट गर्डर्स का उपयोग किस स्पान में किया जाता है? A. More than 15 m |15 मीटर से अधिक B. More than 20 m | 20 मीटर से अधिक C. More than 10 m |10 मीटर से अधिक D. More than 5 m | 5 मीटर से अधिक 70 / 75 Category: Workshop Calculation and Science CBT Paper (II) 1. What is the formula for circumference of a circle? वृत्त की परिधि का सूत्र क्या है? A. πr B. πd²/4 C. 2πr D. πr² 71 / 75 Category: Workshop Calculation and Science CBT Paper (II) 2. Which type of stress? | कौन-सा प्रतिबल है? A. Tensile stress | तनाव प्रतिबल B. Shear stress | कर्तन प्रतिबल C. Compressive stress | सम्पीडन प्रतिबल D. Torsional stress | टॉर्सनल प्रतिबल 72 / 75 Category: Workshop Calculation and Science CBT Paper (II) 3. What is the expanded form of (a+b)2?| (a+b)2 का विस्तारित रूप क्या है? A. a² + 2ab - b² B. a² - 2ab + b² C. -a² - 2ab + b² D. a² + 2ab + b² 73 / 75 Category: Workshop Calculation and Science CBT Paper (II) 4. What is the value of (a5)7? | (a5)7 का मान क्या है? A. a¹² B. a³⁵ C. a²¹ D. a²² 74 / 75 Category: Workshop Calculation and Science CBT Paper (II) 5. What is the unit of strain? | विकृति की इकाई क्या है? A. Newton/metre² | न्यूटन/मीटर² B. Kg/cm² | किलोग्राम/सेंटीमीटर² C. Metre | मीटर D. No unit | नो यूनिट 75 / 75 Category: Workshop Calculation and Science CBT Paper (II) 6. What is denoted as 'I'? | आई (I) किसको निरूपित करता है? A. Principal | प्रिंसिपल B. Interest | इंटरेस्ट C. Year | ईयर D. Rate | रेट Your score isThe average score is 0% 0% Restart quiz Exit WhatsApp और YouTube चैनल से जुड़े रहना Whats App Electrician Free CBT Practice Set COPA Free Practice Set Draughtsman Civil Free CBT Practice Set Draughtsman Mechanic Free CBT Practice Set ITI CBT Practice Set Second Year Electronic Mechanic Free CBT Practice Set अत्यधिक चर्चा में About ITI Industrial Robotics & Digital Manufacturing Technician Trade | Scope, Jobs & Admission Guide ITI COPA Trade Course | Syllabus, Job, Salary, Business & Admission ITI Fitter Trade Course | Syllabus, Job, Salary, Business & Admission ITI Electrician Trade Course | Syllabus, Job, Salary, Business & Admission Digital India BHASHINI Recruitment 2026: Ecosystem Engagement Manager Vacancy in NER – Apply Online Sample Paper