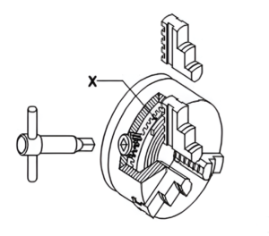
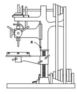
Machinist First Year CBT Paper – Free Practice Set -04By itikegyani.com / July 24, 2025 0% 0 यह पेपर 2 घंटे का है 2 घंटे बाद पेपर अपने आप सबमिट हो जायेगा और आप चाहें तो 2 घंटे से पहले भी सबमिट कर सकते है|सॉरी समय समाप्त हो गया|Machinist First Year CBT Paper (Quiz -4)इस पेपर में 75 प्रशन है जिसमे Trade Tehory के 50 प्रशन, Employability Skill के 25 प्रशन , प्रत्येक प्रशन 2 मार्क्स का है और किसी प्रकार की नेगेटिव मार्किंग नहीं है| (Workshop Calculation and Science और Engineering Drawing इसमें आती नहीं) 1 / 75 Category: Workshop Calculation and Science CBT Paper (I)1. What is the flow of electrons in any conductor? | किसी कंडक्टर में इलेक्ट्रॉन का प्रवाह क्या होता है? A. Resistance | प्रतिरोध B. Power | शक्ति C. Voltage | वोल्टेज D. Current | धारा 2 / 75 Category: Workshop Calculation and Science CBT Paper (I)2. What are the two classifications of system of units?/ इकाइयों की प्रणाली के दो प्रकार कोनसे हैं? A. Fundamental and derived / मौलिक और व्युत्पन्न B. Metric and International / मैट्रिक और इंटरनेशनल C. Gravitational and non-gravitational / गुरुत्वाकर्षण और गैर-गुरुत्वाकर्षण D. British and Metric / ब्रिटिश और मीट्रिक 3 / 75 Category: Workshop Calculation and Science CBT Paper (I)3. Which is example for first order lever? | फर्स्ट ऑर्डर लीवर के लिए कौन-सा उदाहरण है? A. Fire tongs | फायर टॉन्ग्स B. A wheel barrow | एक व्हील बैरो C. Lime squeezer | लाइम स्क्वीज़र D. A pair of scissors | सीजर्स का एक पेयर 4 / 75 Category: Workshop Calculation and Science CBT Paper (I)4. Which is example for second order lever? | द्वितीय ऑर्डर लीवर का कौन-सा उदाहरण है? A. A pair of scissors | सीजर्स का एक पेयर B. Bottle opener | बोतल ओपनर C. Common balance | कॉमन बैलेंस D. Human forearm | ह्यूमन फोरआर्म 5 / 75 Category: Workshop Calculation and Science CBT Paper (I)5. Convert 0.456 decimal fraction into percentage? | 0.456 दशमलव भिन्न को प्रतिशत में बदलिये? A. 45.6% B. 4.56% C. 0.0456% D. 0.456% 6 / 75 Category: Workshop Calculation and Science CBT Paper (I)6. What is the S.I unit of heat? | ऊष्मा की एस.आई. इकाई क्या है? A. Calorie / केलोरी B. Centigrade heat unit / सेंटीग्रेट हीट यूनिट C. Joule / जूल D. British thermal unit / ब्रिटिश थर्मल यूनिट 7 / 75 Category: Engineering Drawing CBT Paper (I)1. Which title block position is correct as standard practice? | एक मानक अभ्यास के रूप में कौन सी शीर्षक ब्लॉक स्थिति सही है? A. Option A | विकल्प A B. Option B | विकल्प B C. Option C | विकल्प C D. Option D | विकल्प D 8 / 75 Category: Engineering Drawing CBT Paper (I)2. Identify the name of tool?/ उपकरण का नाम पहचानें? A. Mallet / लकड़ी का हथौड़ा B. Staright pein hammer / स्ट्रेट पीन हैमर C. Cross pein hammer / क्रॉस पीन हैमर D. Ball pein hammer / बॉल पीन हैमर 9 / 75 Category: Engineering Drawing CBT Paper (I)3. Identify the name of tool?/ उपकरण का नाम पहचानें? A. Straight pein hammer / सीधे पीन हथौड़ा B. Ball pein hammer / बॉल पीन हैमर C. Sledge hammer / स्लेज हैमर D. Cross pein hammer / क्रॉस पीन हैमर 10 / 75 Category: Engineering Drawing CBT Paper (I)4. What is the trimmed size of A4 sheet? | A4 शीट का ट्रिम किया हुआ आकार क्या है? A. 841 x 1189 B. 210 x 297 C. 148 x 210 D. 594 x 841 11 / 75 Category: Engineering Drawing CBT Paper (I)5. Identify the name of tool?/ उपकरण का नाम पहचानें? A. Double cutting shear / डबल काटने कतरनी B. Hawk-billed shear / हॉक-बिल शीयर C. Aviation shear / उड्डयन कतरनी D. Cutting plier / काटने वाला सरौता 12 / 75 Category: Engineering Drawing CBT Paper (I)6. Is this single stroke inclined letter 'A' is correct as per IS standard? | IS मानक के अनुसार क्या यह सिंगल स्ट्रोक वर्टिकल लेटर 'A' सही है? A. Option B | विकल्प B B. Option D | विकल्प D C. Option A | विकल्प A D. Option C | विकल्प C 13 / 75 Category: Machanist First Year CBT Paper (TT)1. What is the name of the cutter? | कटर का नाम क्या है? A. Plain milling cutter | सादा मिलिंग कटर B. Helical plain milling cutter | पेचदार सादा मिलिंग कटर C. Inserted tool cutter | इंसुलेटेड टूल कटर D. Solid cutter | ठोस कटर 14 / 75 Category: Machanist First Year CBT Paper (TT)2. What is the name of part marked X? | भाग X का नाम क्या है? A. Over head shaft | ओवर हेड शाफ़्ट B. Column | कॉलम C. Table elevating clamp | टेबल एलिवेटिंग क्लैंप D. Spindle | स्पिंडल 15 / 75 Category: Machanist First Year CBT Paper (TT)3. Which machines jigs are used? | किन मशीनों का उपयोग किया जाता है? A. Grinding machine | पीसने की मशीन B. Milling machine | मिलिंग मशीन C. Drilling machine | बेधन यंत्र D. Lathe | खराद 16 / 75 Category: Machanist First Year CBT Paper (TT)4. Which is the device used for hold, locate and guide the tool? | उपकरण के लिए पकड़, पता लगाने और मार्गदर्शन करने के लिए किस उपकरण का उपयोग किया जाता है? A. Collet chuck | कोलेट चक B. Jig | नमूना C. Chuck | चक D. Fixture | स्थिरता 17 / 75 Category: Machanist First Year CBT Paper (TT)5. What is the width of flat of square thread having pitch of 6 mm? | 6 मिमी की पिच वाले वर्ग धागे के फ्लैट की चौड़ाई क्या है। A. 3 mm | 3 मिमी B. 2 mm | 2 मिमी C. 6 mm | 6 मिमी D. 4 mm | 4 मिमी 18 / 75 Category: Machanist First Year CBT Paper (TT)6. What is marked as 'X'? | 'X' के रूप में चिह्नित क्या है? A. Surface plate | सरफेस प्लेट B. Dial test indicator | डायल टेस्ट इंडिकेटर C. Component | घटक D. Stem | स्टेम 19 / 75 Category: Machanist First Year CBT Paper (TT)7. Which diameter the external threads are cut? | बाहरी धागे को किस व्यास में काटा जाता है? A. Pitch diameter | पिच का व्यास B. Major diameter | प्रमुख व्यास C. Minor diameter | लघु व्यास D. Root diameter | रूट का व्यास 20 / 75 Category: Machanist First Year CBT Paper (TT)8. What is the name of the part X? भाग X का नाम क्या है? A. Maximum diameter | अधिकतम व्यास B. Length between centre | केंद्र के बीच की लंबाई C. Length of bed | बेड लंबाई D. Lead screw | लीड स्क्रू 21 / 75 Category: Machanist First Year CBT Paper (TT)9. How we specify a vernier height gauge? | हम एक वर्नियर हाइट गेज कैसे निर्दिष्ट करते हैं? A. Width of beam बीम की चौड़ाई B. Height of beam | बीम की ऊँचाई C. Size of base | आधार का आकार D. Thickness of beam | बीम की मोटाई 22 / 75 Category: Machanist First Year CBT Paper (TT)10. What is the method of operation in given figure? | दिए गए आंकड़े में ऑपरेशन की विधि क्या है? A. Surface grinding | सरफेस ग्राइंडिंग B. Cylindrical grinding | सिलिंड्रिकल ग्राइंडिंग C. Centre less grinding | सेंटर लेस ग्राइंडिंग D. Bench grinding | बेंच ग्राइंडिंग 23 / 75 Category: Machanist First Year CBT Paper (TT)11. What A stands for in ABC of first aid? | प्राथमिक चिकित्सा के ABC में A का क्या अर्थ है? A. Airway | एयरवे B. Acute | एक्यूट C. Away | दूर D. Accident | दुर्घटना 24 / 75 Category: Machanist First Year CBT Paper (TT)12. What is the name of the part marked X? | X चिह्नित भाग का नाम क्या है? A. Eye hole | आई होल B. Cheek | चीक C. Face | फेस D. Pein | पीन 25 / 75 Category: Machanist First Year CBT Paper (TT)13. What is the operation shown in figure? | चित्र में दिखाया गया ऑपरेशन क्या है? A. Grinding parallel | ग्राइंडिंग पैरेलल B. Plain grinding | प्लेन ग्राइंडिंग C. Grinding taper | ग्राइंडिंग टेपर D. Taper turning | टेपर टर्निंग 26 / 75 Category: Machanist First Year CBT Paper (TT)14. Which indexing method the movement of the plate for a turn of crank is controlled by change gear arrangement ? | क्रैंक के एक मोड़ के लिए प्लेट की गति को किस अनुक्रमण विधि से गियर परिवर्तन द्वारा नियंत्रित किया जाता है? A. Angular indexing | कोणीय अनुक्रमण B. Simple indexing | सरल अनुक्रमण C. Differential indexing | अंतर अनुक्रमण D. Direct indexing | प्रत्यक्ष अनुक्रमण 27 / 75 Category: Machanist First Year CBT Paper (TT)15. Find the surface speed of the grinding wheel if the diameter of the grinding wheel is 300 mm (d) and RPM of the spindle is 2000 (N)? | ग्राइंडिंग व्हील की सरफेस स्पीड ज्ञात करें यदि ग्राइंडिंग व्हील का व्यास 300 mm (d) और स्पिंडल का RPM 2000 (N) है? A. 37.5 m/sec B. 31.4 m/sec C. 35.6 m/sec D. 38.7 m/sec 28 / 75 Category: Machanist First Year CBT Paper (TT)16. What is the name of measuring instrument? | मापने के यंत्र का नाम क्या है? A. Threaded clamp type divider | थ्रेडेड क्लैंप प्रकार विभक्त B. Slip gauges along with the special jaw | विशेष जबड़े के साथ स्लिप गेज C. Parallel jaw caliper | समानांतर जबड़ा कैलिपर D. Vernier caliper | वर्नियर कैलीपर्स 29 / 75 Category: Machanist First Year CBT Paper (TT)17. What is the name of the operation in a lathe for removing the metal from the work piece by feeding the tool at right angles to the axis of the work? | कार्य के अक्ष को सही कोण पर उपकरण खिलाकर कार्य टुकड़े से धातु को हटाने के लिए एक खराद में ऑपरेशन का नाम क्या है? A. Facing | फेसिंग B. Step turning | स्टेप खराद C. Plain turning | साधारण खराद D. Knurling | नर्लिंग 30 / 75 Category: Machanist First Year CBT Paper (TT)18. What is the name of screw thread element marked as ‘X’? | ‘X’ द्वारा पेंच चूड़ी के चिह्नित तत्व का नाम क्या है? A. Axis | अक्ष B. Helix | हेलिक्स C. Pitch | पिच D. Lead | लीड 31 / 75 Category: Machanist First Year CBT Paper (TT)19. What is the name of the part X? | भाग X का नाम क्या है? A. Top slide | शीर्ष स्लाइड B. Swivel base | स्विवेल आधार C. Tool post | उपकरण कॉलम D. Cross slide | क्रॉस स्लाइड 32 / 75 Category: Machanist First Year CBT Paper (TT)20. What is the name feed movement if table moves towards and away from the column of slotter? | यदि स्लॉटर के कॉलम से टेबल की ओर और दूर चले तो क्या नाम फीड मूवमेंट है? A. Circular movement | परिपत्र आंदोलन B. Vertical movement | ऊर्ध्वाधर आंदोलन C. Longitudinal movement | अनुदैर्ध्य आंदोलन D. Cross movement | क्रॉस मूवमेंट 33 / 75 Category: Machanist First Year CBT Paper (TT)21. What is the function of driving mechanism in a slotting machine? | स्लॉटिंग मशीन में ड्राइविंग तंत्र का क्या कार्य है? A. Convert linear motion to oscillating motion | रैखिक गति को ऑसिलेटिंग गति में परिवर्तित करें B. Converts rotary motion to reciprocating motion | प्रत्यावर्ती गति को रोटरी गति प्रदान करता है C. Coverts sliding motion to rotary motion | रोटरी गति को कवर गति D. Convert oscillating motion to rotary motion | परिवर्तित गति को रोटरी गति में परिवर्तित करें 34 / 75 Category: Machanist First Year CBT Paper (TT)22. Where the steady rest is fixed in a lathe? | एक खराद में स्थिर आराम कहाँ तय किया जाता है? A. Tail stock | टेल शेयर B. Carriage | गाड़ी C. Saddle | सैडल D. Lathe bed | खराद बिस्तर 35 / 75 Category: Machanist First Year CBT Paper (TT)23. What is the name of the lathe? | लेथ का नाम क्या है? A. Capstan lathe | कैपस्टन लेथ B. Bench lathe | बेंच लेथ C. Centre | सेंटर D. Speed lathe | स्पीड लेथ 36 / 75 Category: Machanist First Year CBT Paper (TT)24. What is dial test indicator? | डायल टेस्ट इंडिकेटर क्या है? A. Semi precision instrument | अर्ध परिशुद्धता उपकरण B. High precision instrument | उच्च परिशुद्धता उपकरण C. Width measuring instrument | चौड़ाई मापने का उपकरण D. Depth measuring instrument | गहराई नापने का उपकरण 37 / 75 Category: Machanist First Year CBT Paper (TT)25. What will the changing in angular distance of slide during cutting stroke in slotting? | स्लॉटिंग में स्ट्रोक काटने के दौरान स्लाइड के कोणीय दूरी में क्या परिवर्तन होगा? A. The sliding block will be stationary | स्लाइडिंग ब्लॉक स्थिर होगा B. Less than in return stroke | रिटर्न स्ट्रोक में कम C. More than in return stroke | रिटर्न स्ट्रोक में ज्यादा D. Equal to the distance in return stroke | वापसी स्ट्रोक में दूरी के बराबर 38 / 75 Category: Machanist First Year CBT Paper (TT)26. What is known as the hand of a thread? | एक धागे के हाथ के रूप में क्या जाना जाता है? A. Direction of advance | अग्रिम की दिशा B. Lead | लीड C. Number of start | प्रारंभ की संख्या D. Thread angle | चूड़ी का कोण 39 / 75 Category: Machanist First Year CBT Paper (TT)27. What denotes by ‘8’ in the (A46H5V8) mentioned marking system of a grinding wheel? | ग्राइंडिंग व्हील के (A46H5V8) में वर्णित मार्किंग सिस्टम में '8' से क्या अभिप्राय है? A. Grade | ग्रेड B. Grain size | ग्रेन का आकार C. Type of bond | बांड का प्रकार D. Manufacturer’s code | मैन्युफैक्चरर का कोड 40 / 75 Category: Machanist First Year CBT Paper (TT)28. Which term used to indicate external dimension of a component in BIS system of limits & fits? | लिमिट और फिट के बीआईएस सिस्टम में एक डेटाकेंड के बाहरी आयाम को इंगित करने के लिए किस शब्द का उपयोग किया जाता है? A. Shaft | शाफ़्ट B. Tolerance | सहनशीलता C. Hole | छेद D. Deviation | विचलन 41 / 75 Category: Machanist First Year CBT Paper (TT)29. Which part of the lathe to hold cutting tools drills, reamers, drill chucks provided with the taper shanks? | टेंपर टांगों के साथ प्रदान किए गए कटिंग टूल्स ड्रिल, रिमर्स, ड्रिल चक को पकड़ने के लिए खराद का कौन सा हिस्सा? A. Head stock | हेड स्टॉक B. Tail stock | टेल शेयर C. Lathe chuck | खराद चक D. Carriage | कैरिज 42 / 75 Category: Machanist First Year CBT Paper (TT)30. What is the name of the part marked as X? | X के रूप में चिह्नित भाग का नाम क्या है? A. Body | बॉडी B. Back plate | बेक प्लेट C. Scroll | स्क्रॉल D. Crown wheel | क्राउन व्हील 43 / 75 Category: Machanist First Year CBT Paper (TT)31. Which type of lathe centre is used for supporting pipes, shells and hallow end jobs? | पाइप, गोले और हॉलो एंड जॉब्स का समर्थन करने के लिए किस प्रकार के खराद केंद्र का उपयोग किया जाता है? A. Pipe centre | पाइप सेंटर B. Ball centre | बॉल सेंटर C. Tipped centre इत्तला दे दी केंद्र D. Inserted type centre | सम्मिलित प्रकार का केंद्र 44 / 75 Category: Machanist First Year CBT Paper (TT)32. What type of surface is produced by internal cylindrical grinding? | इंटरनल सिलिंड्रिकल ग्राइंडिंग से किस प्रकार की सरफेस का निर्माण होता है? A. Flat | फ्लैट B. Irregular | इर्रेगुलर C. Round hole | राउंड होल D. Formed | फॉर्म्ड 45 / 75 Category: Machanist First Year CBT Paper (TT)33. What is the class of fire due to wood, paper, cloth? | लकड़ी, कागज, कपड़े के कारण लगने वाली आग किस क्लास की है? A. Class D | क्लास D B. Class C | क्लास C C. Class A | क्लास A D. Class B | क्लास B 46 / 75 Category: Machanist First Year CBT Paper (TT)34. What is name of the part X? | भाग X का नाम क्या है? A. Top slide | शीर्ष स्लाइड B. Swivel base | स्विवेल आधार C. Cross slide | क्रॉस स्लाइड D. Tool post | उपकरण कॉलम 47 / 75 Category: Machanist First Year CBT Paper (TT)35. Which type of tool head is using in precision slotting machines? | परिशुद्धता स्लॉटिंग मशीनों में किस प्रकार के टूल हेड का उपयोग किया जाता है? A. Extension tool head | एक्सटेंशन टूल हेड B. Plain tool head | सादा उपकरण सिर C. Relieving tool head | राहत देने वाला टूल हेड D. Rotating tool head | घूर्णन उपकरण सिर 48 / 75 Category: Machanist First Year CBT Paper (TT)36. What is the name of part marked as X? | X के रूप में चिह्नित भाग का नाम क्या है? A. Table | टेबल B. Column | स्तंभ C. Vertical head | ऊर्ध्वाधर सिर D. Base | आधार 49 / 75 Category: Machanist First Year CBT Paper (TT)37. Calculate the rpm for drilling a hole of diameter 16 mm on cast iron with a cutting speed 30 m / minute? | एक कर्तन गति 30 मीटर / मिनट के साथ कच्चा लोहा पर व्यास मीटर 16 मिमी के छेद को ड्रिलिंग के लिए आरपीएम की गणना करें? A. 697 rpm B. 497 rpm C. 797 rpm D. 597 rpm 50 / 75 Category: Machanist First Year CBT Paper (TT)38. What is the type of the steel rule? | स्टील रूल का प्रकार क्या है? A. Folding rule | फोल्डिंग रूल B. Narrow steel rule | संकीर्ण इस्पात रूल C. Short steel rule | लघु इस्पात रूल D. Steel rule with tapered end | टेपरिकृत अंत के साथ स्टील रूल 51 / 75 Category: Employability Skill CBT Paper (I)1. In an economic growth, role of entrepreneur is to.............. | आर्थिक विकास में, उद्यमी की भूमिका …………। A. stagnate standard of living | जीवन स्तर स्थिर B. generate unemployment | बेरोजगारी उत्पन्न करते हैं C. unbalance the regional development | क्षेत्रीय विकास को असंतुलित करना D. improve per capita income | प्रति व्यक्ति आय में सुधार 52 / 75 Category: Employability Skill CBT Paper (I)2. Spread sheets are saved with extension___________ | स्प्रेड शीट को ............ एक्सटेंशन के साथ सेव किया (सहेजा) जाता है l A. .mp3 B. .doc C. .xls D. .pdf 53 / 75 Category: Employability Skill CBT Paper (I)3. What is a shortcut key for “cut’’ command? | "कट" कमांड के लिए एक शॉर्टकट की (कुंजी) क्या है? A. Ctrl + C | कंट्रोल + C B. Ctrl + X | कंट्रोल + X C. Ctrl + V | कंट्रोल + V D. Ctrl + A | कंट्रोल + A 54 / 75 Category: Employability Skill CBT Paper (I)4. For “SMART” Goal, S stands for _________| “SMART” गोल के लिए, S का मतलब................... है A. Scientific | साइंटिफिक B. Social | सोशल C. Strengths | स्ट्रेंथ D. Specific | स्पेसिफिक 55 / 75 Category: Employability Skill CBT Paper (I)5. Which one is a “Do’s” of discussion etiquettes?| चर्चा के शिष्टाचारों में से कौन सा “Do’s” है? A. Use impolite or rude language | अभद्र या अशिष्ट भाषा का उपयोग करें B. Loose your temper | अपना आपा खोएं C. Listen to others | दूसरों की सुनें D. Talk about irrelevant details | अप्रासंगिक विवरण के बारे में बात करें 56 / 75 Category: Employability Skill CBT Paper (I)6. Probing questions helps you ______ | जांच करने वाले प्रश्न आपकी मदद करते हैं… A. Building trust so you can receive honest feedback. | विश्वास का निर्माण करें ताकि आप ईमानदार प्रतिक्रिया प्राप्त कर सकें। B. To learn customer's pain point | ग्राहक के दर्द बिंदु जानने के लिए C. To identify customer's specific needs | ग्राहक की विशिष्ट आवश्यकताओं की पहचान करने के लिए D. To introduce yourself well to the customer. | ग्राहक को अपना परिचय अच्छे से देना। 57 / 75 Category: Employability Skill CBT Paper (I)7. Which one is NOT an element of 3P’s of public speaking?| निम्न मे से कौन पब्लिक स्पिीकिंग के 3 P का तत्व नहीं है? A. Perform | परफॉर्म B. Practice | प्रैक्टिस C. Prepare | प्रेपरे D. Posses | पोस्सेस 58 / 75 Category: Employability Skill CBT Paper (I)8. _______ is major changes takes place in manufacturing.| ……….. मैन्युफैक्चरिंग में प्रमुख परिवर्तन होते हैं। A. Industry revolution | उद्योग क्रांति B. Green revolution | हरित क्रांति C. Food revolution | खाद्य क्रांति D. Water revolution | जल क्रांति 59 / 75 Category: Employability Skill CBT Paper (I)9. Goals are categorized as ___________ | लक्ष्यों को ______________ के रूप में वर्गीकृत किया गया है A. intrinsic and extrinsic | आंतरिक और बाह्य B. inner and outer | इनर और आउटर C. good and bad | अच्छा और बुरा D. short-term and long-term | अल्पकालिक और दीर्घकालिक 60 / 75 Category: Employability Skill CBT Paper (I)10. Which one is the latest and effective means of modern communication? | आधुनिक संचार का नवीनतम और प्रभावी साधन कौन सा है? A. Electronic mail | इलेक्ट्रॉनिक मेल B. Message through TV | टीवी के माध्यम से संदेश C. Postal mail | डाक मेल D. Fax | फैक्स 61 / 75 Category: Employability Skill CBT Paper (I)11. For short distance, which network type should be used? | छोटी दूरी के लिए, किस नेटवर्क प्रकार का उपयोग किया जाना चाहिए? A. MAN | मेन B. WAN | वेन C. LAN | लेन D. CAN | केन 62 / 75 Category: Employability Skill CBT Paper (I)12. In MS Excel, collection of work sheet is known as ___________ | एमएस एक्सेल में, वर्क शीट के संग्रह को ............ के रूप में जाना जाता है l A. sheet work | शीट वर्क B. workbook | वर्कबुक C. excel book | एक्सेल बुक D. worksheet | वर्कशीट 63 / 75 Category: Employability Skill CBT Paper (I)13. Jobs that have become outdated in the past 5 years _____/ ......... नौकरियां जो पिछले 5 वर्षों में पुरानी हो गई हैं। A. STD booth / STD बूथ B. ola / ओला C. Swiggy / स्विग्गी D. uber / उबेर 64 / 75 Category: Employability Skill CBT Paper (I)14. Which one is in passive voice? | निष्क्रिय आवाज में कौन सा है? A. I have seen that movie. | मैंने वह फिल्म देखी है B. Mohan is painting a house. | मोहन एक घर पेंट कर रहा है C. She was reading a book. | वह एक किताब पढ़ रही थी D. Her birthday was celebrated by us. | उसका जन्मदिन हमने मनाया 65 / 75 Category: Employability Skill CBT Paper (I)15. ___________ are the abilities and qualities you have as a person that helps you grow well in life and career.| ___________ एक व्यक्ति के रूप में आपके पास मौजूद क्षमताएं और गुण हैं जो आपको जीवन और करियर में अच्छी तरह से बढ़ने में मदद करते हैं। A. Opportunities | मौके B. Personal Strengths | व्यक्तिगत ताक़त C. Personal weaknesses | व्यक्तिगत कमजोरियां D. Threats | धमकी 66 / 75 Category: Employability Skill CBT Paper (I)16. The word 'when' denotes ____________ | शब्द 'when (जब)' _________ को दर्शाता है A. place | स्थान B. thing | चीज़ C. time | समय D. person | व्यक्ति 67 / 75 Category: Employability Skill CBT Paper (I)17. What is shortcut key for “Paste” command?| "पेस्ट" कमांड के लिए शॉर्टकट की (कुंजी) क्या है? A. Ctrl + X | कंट्रोल + X B. Ctrl + A | कंट्रोल + A C. Ctrl + V | कंट्रोल + V D. Ctrl + C | कंट्रोल + C 68 / 75 Category: Employability Skill CBT Paper (I)18. How can AI suggest jobs? | एआई नौकरियां कैसे सुझाव दे सकता है? A. From shopping list | खरीदारी सूची से B. By printing bills | बिल प्रिंट करके C. By scanning faces | चेहरों को स्कैन करके D. By using the details you share | आपके द्वारा साझा की गई जानकारी का उपयोग करके 69 / 75 Category: Employability Skill CBT Paper (I)19. What is a shortcut key for “select all” command? | "सेलेक्ट ऑल" कमांड के लिए एक शॉर्टकट की (कुंजी) क्या है? A. Ctrl + X | कंट्रोल + X B. Ctrl + C | कंट्रोल + C C. Ctrl + A | कंट्रोल + A D. Ctrl + V | कंट्रोल + V 70 / 75 Category: Employability Skill CBT Paper (I)20. Which AI tool can explain grammar? | कौन सा एआई टूल व्याकरण समझा सकता है? A. Notepad | नोटपैड B. ChatGPT | चैटजीपीटी C. Recorder | रेकॉर्डर D. MS Paint | एमएस पेंट 71 / 75 Category: Employability Skill CBT Paper (I)21. Fill in the blank with correct future tense of verb. “We ___________ to the zoo after Breakfast “ | क्रिया के सही भविष्य काल के साथ रिक्त स्थान भरें। “We___________to the zoo after Breakfast “ A. are going | आर गोइंग B. had gone | हेड गॉन C. will go | विल गो D. went | वेंट 72 / 75 Category: Employability Skill CBT Paper (I)22. Which one is a correct channel through which marketers can reach customers?| कौन सा एक सही चैनल है जिसके माध्यम से बाजार ग्राहकों तक पहुंच सकता है? A. Manufacture→ Retailer → Wholesaler → Customer | निर्माण → रिटेलर → थोक विक्रेता → ग्राहक B. Manufacturer → Retailer → Customer | निर्माता → रिटेलर → ग्राहक C. Manufacturer → Retailer → Customer → Wholesaler | निर्माता → रिटेलर → ग्राहक → थोक विक्रेता D. Manufacturer → Customer → Retailer | निर्माता → ग्राहक → रिटेलर 73 / 75 Category: Employability Skill CBT Paper (I)23. NAPS Stands for _______| NAPS का मतलब ________ A. National Apprenticeship Promotion Scheme | नेशन अप्प्रेंतिसशिप प्रमोशन स्कीम B. National Appointment Promoting Scheme | नेशनल अपॉइंटमेंट प्रोमोटिंग स्कीम C. Non Apprenticeship Promotion Scheme | नॉन अप्प्रेंतिसशिप प्रमोशन स्कीम D. National Advertising Promotion Scheme | नेशनल एडवरटाइजिंग प्रमोशन स्कीम 74 / 75 Category: Employability Skill CBT Paper (I)24. _______ can help me learn English. | _______ मुझे अंग्रेजी सीखने में मदद कर सकता है। A. anger | क्रोध B. dedication | निष्ठा C. fear | डर D. shyness | शर्म 75 / 75 Category: Employability Skill CBT Paper (I)25. Which is not the online payment App? | कौन सा ऑनलाइन भुगतान App नहीं है? A. Google Pay | गूगल पे B. India Pay | इंडियन पे C. PhonePe | फ़ोन पे D. Paytm | पेटीएम Your score isThe average score is 0% 0% Restart quiz Exit WhatsApp और YouTube चैनल से जुड़े रहनाWhats App CBT Practice PaperElectricianCOPAFitterDraughtsman MechanicFashion Design & TechnologyElectronic MechanicArchitectural DraughtsmanAeronautical Structure and Equipment FitterDraughtsman CivilCosmetologyTurnerComputer Hardware & Network Maintenance अत्यधिक चर्चा में ITI Supplementary Exam Eligibility December 2025: Attendance और FA से जुड़े महत्वपूर्ण नियम | DGT के नए आदेश की पूरी जानकारी NCVT सप्लीमेंट्री/लेफ्टओवर परीक्षा (दिसम्बर-2025): उत्तर प्रदेश के प्रशिक्षार्थियों के लिए SCVT पोर्टल पर पंजीकरण शुरू SIDH पोर्टल पर कब होंगे बाकी बचे Trainee Migrate? CTS एडमिशन और डेटा अपलोड की अंतिम तिथि क्या है? DGT API Schedule PRADAN Taluk Coordinator Recruitment 2025: कर्नाटक में 32-36 हजार वेतन के साथ नई भर्ती Bank of India Recruitment 2025: स्केल-II, III और IV ऑफिसर्स की बड़ी भर्ती – आवेदन शुरू PNB LBO भर्ती 2025: पंजाब नेशनल बैंक में 750 लोकल बैंक ऑफिसर पदों पर आवेदन शुरू – योग्यता, सिलेबस, चयन प्रक्रिया और ऑनलाइन फॉर्म