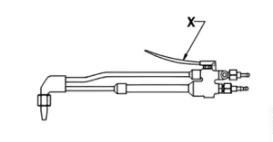
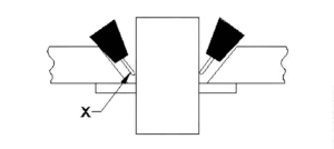
Welder CBT Paper – Free Practice Set -02By itikegyani.com / May 13, 2025 /75 3 यह पेपर 2 घंटे का है 2 घंटे बाद पेपर अपने आप सबमिट हो जायेगा और आप चाहें तो 2 घंटे से पहले भी सबमिट कर सकते है| पेपर देने के लिए आपको हमारी वेबसाइट पर login करना अनिवार्य है| सॉरी समय समाप्त हो गया| Welder CBT Paper (Quiz - 02) इस पेपर में 75 प्रशन है जिसमे Trade Tehory के 38 प्रशन, Workshop Calculation and Science के 06 प्रशन, Engineering Drawing के 06 प्रशन, Employability Skill के 25 प्रशन , प्रत्येक प्रशन 2 मार्क्स का है और किसी प्रकार की नेगेटिव मार्किंग नहीं है| 1 / 75 Category: Engineering Drawing CBT Paper (I) 1. Compass used to draw for___./ कम्पास का उपयोग ___ को ड्रा करने के लिए किया जाता है. A. triangle / त्रिकोण B. circle / वृत्त C. rectangle / आयत D. square / वर्ग 2 / 75 Category: Engineering Drawing CBT Paper (I) 2. Is arrow head is correct as per standard?/ मानक के अनुसार तीर शीर्ष सही है या नहीं ? A. Yes / हाँ B. No / नहीं 3 / 75 Category: Engineering Drawing CBT Paper (I) 3. Identify the conventional symbol of material? | चित्र में दिखाए गए सामग्री के पारंपरिक प्रतीक का पता लगाएं? A. Wood | लकड़ी B. Lead | लेड C. Glass | कांच D. Paper | कागज़ 4 / 75 Category: Engineering Drawing CBT Paper (I) 4. What is the trimmed size of A4 sheet? | A4 शीट का ट्रिम किया हुआ आकार क्या है? A. 841 x 1189 B. 148 x 210 C. 210 x 297 D. 594 x 841 5 / 75 Category: Engineering Drawing CBT Paper (I) 5. Is this single stroke inclined letter 'A' is correct as per IS standard? | IS मानक के अनुसार क्या यह सिंगल स्ट्रोक वर्टिकल लेटर 'A' सही है? A. Option C | विकल्प C B. Option D | विकल्प D C. Option A | विकल्प A D. Option B | विकल्प B 6 / 75 Category: Engineering Drawing CBT Paper (I) 6. Identify the name of tool? | उपकरण का नाम पहचानें? A. Open end spanner | ओपन एंड स्पैनर B. Ring spanner | गोल पाना C. Adjustable spanner | समायोज्य औजार D. Combination spanner | संयोजन स्पैनर 7 / 75 Category: Workshop Calculation and Science CBT Paper (I) 1. What is called mass per unit volume of a substances?| किसी पदार्थ के द्रव्यमान प्रति इकाई आयतन को क्या कहते हैं? A. Density | घनत्व B. Volume | आयतन C. Mass | द्रव्यमान D. Weight | भार 8 / 75 Category: Workshop Calculation and Science CBT Paper (I) 2. How many millimetres are there in 1 inch? | 1 इंच में कितने मिलीमीटर होते हैं? A. 2.45 mm | २.४५ मी मी B. 25.4 mm | २५.४ मी मी C. 2.54 mm | २.५४ मी मी D. 24.5 mm | २४.५ मी मी 9 / 75 Category: Workshop Calculation and Science CBT Paper (I) 3. What is the value for specific heat of water?/ पानी की विशिष्ट ऊष्मा का मान क्या है? A. 1 B. 3 C. 4 D. 2 10 / 75 Category: Workshop Calculation and Science CBT Paper (I) 4. What is the S.I unit of heat? | ऊष्मा की एस.आई. इकाई क्या है? A. British thermal unit / ब्रिटिश थर्मल यूनिट B. Centigrade heat unit / सेंटीग्रेट हीट यूनिट C. Calorie / केलोरी D. Joule / जूल 11 / 75 Category: Workshop Calculation and Science CBT Paper (I) 5. What is the flow of electrons in any conductor? | किसी कंडक्टर में इलेक्ट्रॉन का प्रवाह क्या होता है? A. Voltage | वोल्टेज B. Resistance | प्रतिरोध C. Power | शक्ति D. Current | धारा 12 / 75 Category: Workshop Calculation and Science CBT Paper (I) 6. Which metal contains iron as a major content?| इनमे से किस धातु में प्रमुख सामग्री के रूप में लोहा होता है? A. Ferrous metal | लोह धातु B. Zinc | जिंक C. Bronze metal | ब्रोंज धातु D. Brass metal | पीतल धातु 13 / 75 Category: Welder CBT Paper (TT) 1. What is the name of the part mark 'X' shown in the figure? | चित्र में दिखाए गए भाग चिह्न 'X' का नाम क्या है? A. Supporting bar | सहायक बार B. Backing bar | बैकिंग बार C. Fixing bar | फिक्सिंग बार D. Straight bar | सीधी बार 14 / 75 Category: Welder CBT Paper (TT) 2. What is the NDT method using sound as a source? | स्रोत के रूप में ध्वनि का उपयोग करते हुए NDT विधि क्या है? A. Magnetic particle test | मैग्नेटिक पार्टिकल टेस्ट B. Pressure test | प्रेशर टेस्ट C. Stethoscopic test | स्टेथोस्कोपिक टेस्ट D. Visual inspection | विसुअल इंस्पेक्शन 15 / 75 Category: Welder CBT Paper (TT) 3. What is the name of the part marked 'X' shown in figure? | चित्र में दर्शाए गए 'X' चिन्हित भाग का क्या नाम है? A. Correct arc length | चाप की सही लंबाई B. Arc on side wall | साइड दीवार पर आर्क C. Long stick out | लंबी छड़ी बाहर रखना D. Arc in roof | छत में चाप 16 / 75 Category: Welder CBT Paper (TT) 4. Which welding process is used for thicker plates? | मोटी प्लेटों के लिए कौन सी वेल्डिंग प्रक्रिया का उपयोग किया जाता है? A. Shielded metal arc welding | शील्डेड धातु की आर्क वेल्डिंग B. Sub - Merged arc welding | सब-मर्ज्ड आर्क वेल्डिंग C. Atomic hydrogen welding | अटोमिक हाइड्रोजन वेल्डिंग D. Manual metal arc welding | मैनुअल मेटल आर्क वेल्डिंग 17 / 75 Category: Welder CBT Paper (TT) 5. What is the full form of OAW? | OAW का पूर्ण रूप क्या है? A. Oxy - Acetylene Welding | ऑक्सी-एसिटिलीन वेल्डिंग B. Oxy - Acetylene Coal Welding | ऑक्सी-एसिटिलीन कोयला वेल्डिंग C. Oxy - Acetylene hydrogen Welding | ऑक्सी - एसीटिलीन हाइड्रोजन वेल्डिंग D. Oxy - Air Acetylene Welding | ऑक्सी - एयर एसिटिलीन वेल्डिंग 18 / 75 Category: Welder CBT Paper (TT) 6. What is the name of the position of the fixed pipe shown in the figure? | चित्र में दिखाए गए फिक्स्ड पाइप की स्थिति का नाम क्या है? A. 5G B. 2G C. 6G D. 1G 19 / 75 Category: Welder CBT Paper (TT) 7. What type of rollers are used to Steel and Hard wires? | स्टील और हार्ड वायरों के लिए किस प्रकार के रोलर्स का उपयोग किया जाता है? A. U grooved | U ग्रूवुड B. U knurled | U क्नुर्ल्ड C. V knurled | V क्नुर्ल्ड D. V rollers | V रोलर्स 20 / 75 Category: Welder CBT Paper (TT) 8. What is the name of the part marked as 'X' shown in the figure? | चित्र में दिखाए गए 'X' से चिह्नित भाग का नाम क्या है? A. Flux coating | फ्लक्स कोटिंग B. Power lead | पॉवर लीड C. Electrode arc | इलेक्ट्रोड आर्क D. Spray | स्प्रे 21 / 75 Category: Welder CBT Paper (TT) 9. How many types of oxy-acetylene flames are there? | ऑक्सी-एसिटिलीन फ्लेम्स कितने प्रकार की होती हैं? A. 2 B. 5 C. 3 D. 4 22 / 75 Category: Welder CBT Paper (TT) 10. What is the name of the defect marked as 'X' shown in the figure? | चित्र में दिखाए गए 'X' से चिह्नित दोष का नाम क्या है? A. Porosity | छिद्रता B. Lack of fusion | संलयन की कमी C. Under cut | अंडर कट D. Over lap | ओवर लैप 23 / 75 Category: Welder CBT Paper (TT) 11. What is the name of part marked ‘X’ shown in the figure? | चित्र में दिखाए गए ‘X’ चिन्हित भाग का नाम क्या है? A. Idler gear | आईडलर गियर B. Centre guide | सेंटर गाइड C. Wire feed roller | वायर फीड रोलर D. Gear box | गियर बॉक्स 24 / 75 Category: Welder CBT Paper (TT) 12. What is the function of flux in Oxy-acetylene gas welding? | ऑक्सी-एसिटिलीन गैस वेल्डिंग में फ्लक्स का क्या कार्य है? A. Prevents oxidation | ऑक्सीकरण को रोकता है B. Strengthens filler rod | फिलर रॉड को मजबूत करता है C. Combustion of metal | धातु का दहन D. Strengthens electrode | इलेक्ट्रोड को मजबूत करता है 25 / 75 Category: Welder CBT Paper (TT) 13. What is the name of the system, if two or three cylinders are coupled with suitable device? | यदि दो या तीन सिलेंडरों को उपयुक्त उपकरण के साथ जोड़ा जाए तो सिस्टम का नाम क्या है? A. Stationary manifold | स्टेशनरी मैनिफोल्ड B. Portable manifold | पोर्टेबल मैनिफोल्ड C. Series manifold | सीरीज मैनिफोल्ड D. Multiple manifold | मल्टिपल मैनिफोल्ड 26 / 75 Category: Welder CBT Paper (TT) 14. Which one of the flux is used in brass welding? | पीतल वेल्डिंग में किस फ्लक्स का उपयोग किया जाता है? A. Zinc chloride | जिंक क्लोराइड B. Copper silver alloy | तांबा चांदी मिश्र धातु C. Sodium nitrate | सोडियम नाइट्रेट D. Borax | बोरेक्रस 27 / 75 Category: Welder CBT Paper (TT) 15. What is the purpose of H.F. unit in TIG welding? | TIG वेल्डिंग में H.F. इकाई का उद्देश्य क्या है? A. To produce the AC | AC का उत्पादन करने के लिए B. To change AC to DC | AC को DC में बदलने के लिए C. To initiate the arc without touching the electrode on the base metal | बेस मेटल पर इलेक्ट्रोड को छूए बिना आर्क को आरंभ करने के लिए D. To produce power supply | बिजली की आपूर्ति का उत्पादन करने के लिए 28 / 75 Category: Welder CBT Paper (TT) 16. What is the melting temperature of soft soldering? | सॉफ्ट सोल्डरिंग का पिघलने का तापमान क्या है? A. Below 350°C | 350°C से नीचे B. Below 220°C | 220°C से नीचे C. Above 500°C | 500°C से ऊपर D. Above 420°C | 420°C से ऊपर 29 / 75 Category: Welder CBT Paper (TT) 17. What is the name of the test shown in the figure? | चित्र में दिखाए गए परीक्षण का नाम क्या है? A. Face bend | चेहरा झुका B. Impact | प्रभाव C. Fatigue | थकावट D. Fillet fracture | फिलेट फ्रैक्चर 30 / 75 Category: Welder CBT Paper (TT) 18. Which term refers to the rapid cooling of a metal by immersing it in oil or water? | कौन सा शब्द किसी धातु को तेल या पानी में डुबाकर तेजी से ठंडा करने को संदर्भित करता है? A. Case hardening | केस हार्डेनिंग B. Quenching | क्वेंचिंग C. Stress relieving | तनाव मुक्ति करना D. Tempering | टेम्परिंग 31 / 75 Category: Welder CBT Paper (TT) 19. What is name of blowpipe part ‘x’ shown in the figure? | चित्र में दिखाए गए ब्लोपाइप भाग 'x' का नाम क्या है? A. Oxygen inlet | ऑक्सीजन इनलेट B. Oxygen control valve | ऑक्सीजन कंट्रोल वाल्व C. Acetylene control valve | एसिटिलीन कंट्रोल वाल्व D. Oxygen cutting lever | ऑक्सीजन कटिंग लीवर 32 / 75 Category: Welder CBT Paper (TT) 20. What type of torch shown in the figure? | चित्र में किस प्रकार की टार्च दिखाई गई है? A. Air cooled | वातानुकूलित B. Oil cooled | तेल ठंडा C. Water cooled | पानी ठंडा हुआ D. Gas cooled | गैस ठंडी 33 / 75 Category: Welder CBT Paper (TT) 21. What is the name of the pressure system shown in figure? | चित्र में दर्शाई गई दाब प्रणाली का नाम क्या है ? A. Medium | मीडियम B. High | हाई C. Normal | नार्मल D. Low | लो 34 / 75 Category: Welder CBT Paper (TT) 22. Which metal in welding process is subjected to “Weld decay” defect? | वेल्डिंग प्रक्रिया में किस धातु को "वेल्ड क्षय" दोष के अधीन किया जाता है? A. Brass | ब्रास B. Stainless steel | स्टेनलेस स्टील C. Mild steel | माइल्ड स्टील D. Copper | कॉपर 35 / 75 Category: Welder CBT Paper (TT) 23. Which is a resistance welding method? | एक रेजिस्टेंस वेल्डिंग विधि कौन सी है? A. Spot welding | स्पॉट वेल्डिंग B. Forge welding | फोर्ज वेल्डिंग C. Explosive welding | एक्सप्लोसिव वेल्डिंग D. Thermit welding | थर्मिट वेल्डिंग 36 / 75 Category: Welder CBT Paper (TT) 24. What is the symbol of oxygen? | ऑक्सीजन का प्रतीक क्या है? A. C₂ B. C₂H₂ C. O₂ D. H₂O 37 / 75 Category: Welder CBT Paper (TT) 25. Which cast iron is soft? | कौन सा कास्ट आयरन मुलायम होता है? A. Malleable cast iron | मेलीऐबल कास्ट आयरन B. White cast iron | व्हाइट कास्ट आयरन C. Nodular cast iron | नोडुलर कास्ट आयरन D. Grey cast iron | ग्रे कास्ट आयरन 38 / 75 Category: Welder CBT Paper (TT) 26. What are the positions used in SAW? | SAW में किन पोजीशन का उपयोग किया जाता है? A. Overhead | ओवर हेड B. Flat and horizontal | फ्लैट एवं हॉरिजॉन्टल C. Vertical | वर्टीकल D. Flat | फ्लैट 39 / 75 Category: Welder CBT Paper (TT) 27. What is the name of the part marked 'X" shown in figure? | चित्र में दर्शाए गए 'X' चिन्हित भाग का नाम क्या है? A. Gun | गन B. Fuel gas | ईंधन गैस C. Gas flow meter | गैस प्रवाह मीटर D. Oxygen | ऑक्सीजन 40 / 75 Category: Welder CBT Paper (TT) 28. What is the use of oxidising flame? | ऑक्सीडीसिंग फ्लेम का उपयोग क्या है? A. Suitable for mild steel welding | हल्के स्टील वेल्डिंग के लिए उपयुक्त B. Suitable for brass welding | पीतल वेल्डिंग के लिए उपयुक्त C. Suitable for cast iron welding | कास्ट आयरन वेल्डिंग के लिए उपयुक्त D. Suitable for satellite, pipe welding | सैटेलाइट, पाइप वेल्डिंग के लिए उपयुक्त 41 / 75 Category: Welder CBT Paper (TT) 29. What is the full form of ISO? | ISO का फुल फॉर्म क्या होता है? A. International Standard Organisation | अंतर्राष्ट्रीय मानक संगठन B. Indian Student Organisation | भारतीय छात्र संगठन C. Indian Security Organisation | भारतीय सुरक्षा संगठन D. Indian Sailors Organisation | भारतीय नाविक संगठन 42 / 75 Category: Welder CBT Paper (TT) 30. Which welding process enables to weld dissimilar metals? | किस वेल्डिंग प्रक्रिया से भिन्न धातुओं को वेल्ड किया जा सकता है? A. MIG welding | MIG वेल्डिंग B. Seam welding | सीम वेल्डिंग C. Spot welding स्पॉट वेल्डिंग D. Brazing | ब्रेज़िंग 43 / 75 Category: Welder CBT Paper (TT) 31. What is the name of the part marked as ‘X’shown in the figure? | चित्र में दिखाए गए ‘X’ से चिह्नित भाग का नाम क्या है? A. Flash lamp | फ़्लैश लैंप B. Laser beam | लेजर बीम C. Ruby rod | रूबी रॉड D. Cooling system | कुलिंग सिस्टम 44 / 75 Category: Welder CBT Paper (TT) 32. What is the name of last bit of an discarded electrode? | एक खारिज इलेक्ट्रोड के अंतिम बिट का नाम क्या है? A. Red end | रेड एंड B. Dead end | डेड एंड C. Waste end | वेस्ट एंड D. Stub end | स्टब एंड 45 / 75 Category: Welder CBT Paper (TT) 33. Which type of welding machine converts AC to DC supply? | किस प्रकार की वेल्डिंग मशीन एसी को डीसी आपूर्ति में परिवर्तित करती है? A. Engine generators | इंजन जनरेटर B. Inverter | इन्वर्टर C. Transformer | ट्रांसफार्मर D. Rectifier | रेक्टिफायर 46 / 75 Category: Welder CBT Paper (TT) 34. Which treatment is given to a person affected by accident on the spot? | दुर्घटना से प्रभावित व्यक्ति को मौके पर कौन सा उपचार दिया जाता है? A. Second treatment | सेकेंड ट्रीटमेंट B. Second aid | सेकंड एड C. First aid | फर्स्ट एड D. First treatment | फर्स्ट ट्रीटमेंट 47 / 75 Category: Welder CBT Paper (TT) 35. Which type of tungsten electrode is suitable for welding of SS by TIG process with DC? | टंगस्टन इलेक्ट्रोड किस प्रकार के DC के साथ TIG प्रक्रिया द्वारा एसएस की वेल्डिंग के लिए उपयुक्त है? A. Cerium tungsten electrode | सेरियम टंगस्टन इलेक्ट्रोड B. Zirconium tungsten electrode | ज़िरकोनियम टंगस्टन इलेक्ट्रोड C. Thoriated tungsten electrode | थोरिअटेड टंगस्टन इलेक्ट्रोड D. Pure tungsten electrode | शुद्ध टंगस्टन इलेक्ट्रोड 48 / 75 Category: Welder CBT Paper (TT) 36. Which type of welding machine converts DC to AC? | किस प्रकार की वेल्डिंग मशीन DC को AC में परिवर्तित करती है? A. Transformer | ट्रांसफार्म B. Generator set | जनरेटर सेट C. Inverter | इन्वर्टर D. Rectifier | रेक्टिफायर 49 / 75 Category: Welder CBT Paper (TT) 37. Which is the name of the welding technique shown in the figure? | चित्र में दर्शाई गई वेल्डिंग तकनीक का नाम क्या है? A. Rightward | दाईं ओर B. Leftward | बाईं ओर C. Forehand | पहला भाग D. Downward | नीचे की ओर 50 / 75 Category: Welder CBT Paper (TT) 38. What is the name of the joint shown in the figure? | चित्र में दिखाए गए जॉइंट का नाम क्या है? A. Y joint | Y जॉइंट B. Tee joint | टी जॉइंट C. Elbow joint | एल्बो जॉइंट D. Butt joint | बट जॉइंट 51 / 75 Category: Employability Skill CBT Paper (I) 1. What approach is used to gain access to foreign markets and quickly promote an organizations interest? | विदेशी बाजारों तक पहुंच प्राप्त करने और संगठनों के हित को जल्दी बढ़ावा देने के लिए किस दृष्टिकोण का उपयोग किया जाता है? A. Licensing | लाइसेंसिंग B. Joint venture | संयुक्त उद्यम C. Technology transfer | तकनीकी हस्तांतरण D. Collaboration | सहयोग 52 / 75 Category: Employability Skill CBT Paper (I) 2. Re-arrange the following set of words into meaningful sentence. “teacher / school / worked / she / a / as”.| शब्दों के निम्नलिखित सेट को सार्थक वाक्य में फिर से व्यवस्थित करें। “teacher / school / worked / she / a / as” A. Worked she as a school teacher | उन्होंने एक स्कूल टीचर के रूप में काम किया B. School worked as a she teacher | स्कूल में वह अध्यापिका के रूप में काम करती थी C. She worked as a school teacher | वह एक स्कूल टीचर के तौर पर काम करती थीं D. She teacher worked as a school | वह एक स्कूल में अध्यापिका के रूप में काम करती थी 53 / 75 Category: Employability Skill CBT Paper (I) 3. Fill in the blank with comparative adjective. “Your pencil is__________ than mine” | तुलनात्मक विशेषण के साथ रिक्त स्थान भरें। “Your pencil is__________ than mine” A. sharper | शार्पेर B. thick | थिक C. blunt | ब्लंट D. sharp | शार्प 54 / 75 Category: Employability Skill CBT Paper (I) 4. People from all religions or no religions are treated equally means…… | सभी धर्मों या किसी भी धर्म के लोगों के साथ समान व्यवहार नहीं किया जाता है ……सेक्युलर देश A. democratic | जनतांत्रिक B. non secular | गैर धर्मनिरपेक्ष C. secular country | धर्मनिरपेक्ष देश D. religious | धार्मिक 55 / 75 Category: Employability Skill CBT Paper (I) 5. In MS Excel, collection of work sheet is known as ___________ | एमएस एक्सेल में, वर्क शीट के संग्रह को ............ के रूप में जाना जाता है l A. workbook | वर्कबुक B. sheet work | शीट वर्क C. excel book | एक्सेल बुक D. worksheet | वर्कशीट 56 / 75 Category: Employability Skill CBT Paper (I) 6. _______ tab is used to insert charts, graphs, images and page number into a word file./ ____ टैब का उपयोग चार्ट, ग्राफ, इमेज और पेज नंबर को वर्ड फाइल में डालने के लिए किया जाता है। A. Insert tab / इन्सर्ट टैब B. Review pane / रिव्यू पेन C. Standard tab / स्टैंडर्ड टैब D. Formatting tab / फ़ॉर्मेटिंग टैब 57 / 75 Category: Employability Skill CBT Paper (I) 7. In “SWOT” analysis, “S” stands for ______ | स्वॉट विश्लेषण में, "S" का अर्थ .............. है। A. Success | सक्सेस B. Service | सर्विस C. Strength | स्ट्रेंथ D. Survey | सर्वे 58 / 75 Category: Employability Skill CBT Paper (I) 8. Which one of the following is a good office etiquette? | निम्नलिखित में से कौन सा एक अच्छा कार्यालय शिष्टाचार है? A. One should not be punctual to work | काम के लिए समय का पाबंद नहीं होना चाहिए B. One should litter one’s work place | व्यक्ति को अपने काम के स्थान पर कूड़ा डालना चाहिए C. One should have fancy mobile ring tone | एक के पास फैंसी मोबाइल रिंग टोन होना चाहिए D. One should dress formally | एक को औपचारिक रूप से पोशाक पहननी चाहिए 59 / 75 Category: Employability Skill CBT Paper (I) 9. Choose the correct response for the given question. “How have you been”? | दिए गए प्रश्न के लिए सही उत्तर चुनिए। “How have you been”? A. On vacation_ And you? | छुट्टी पर हूँ_ और आप? B. Same to you | आपको भी वही C. Thank you_ And you? | धन्यवाद_ और आप? D. Very well, And you? | बहुत अच्छा, और आप? 60 / 75 Category: Employability Skill CBT Paper (I) 10. What is a shortcut key for “cut’’ command?| "कट" कमांड के लिए एक शॉर्टकट की (कुंजी) क्या है? A. Ctrl + X | कंट्रोल + X B. Ctrl + V | कंट्रोल + V C. Ctrl + A | कंट्रोल +A D. Ctrl + C | कंट्रोल + C 61 / 75 Category: Employability Skill CBT Paper (I) 11. Jobs that have become outdated in the past 5 years _____/ ......... नौकरियां जो पिछले 5 वर्षों में पुरानी हो गई हैं। A. Swiggy / स्विग्गी B. STD booth / STD बूथ C. ola / ओला D. uber / उबेर 62 / 75 Category: Employability Skill CBT Paper (I) 12. In which orientation, the text is printed length wise? | किस ओरिएंटेशन (अभिविन्यास) में, टेक्स्ट (पाठ) लंबाई वार प्रिंट (मुद्रित) होता है? A. Portrait | पोट्रेट B. Landscape | लैंडस्केप C. Width | चौड़ाई D. Margin | मार्जिन 63 / 75 Category: Employability Skill CBT Paper (I) 13. Which one of these phrases is not related to a telephone call? | इनमें से कौन-सा वाक्यांश एक टेलीफोन कॉल से संबंधित नहीं है? A. Pick up | पिक अप B. Make up | मेकअप C. Hold on | होल्ड ऑन D. Call back | कॉल बैक 64 / 75 Category: Employability Skill CBT Paper (I) 14. You have greeted the customer. Choose which of the following statements you should use to complete the greeting.| आपने ग्राहक को बधाई दी है। ग्रीटिंग को पूरा करने के लिए आपको निम्नलिखित में से किस कथन का उपयोग करना चाहिए चुनें। A. Can you come later | क्या आप बाद में आ सकते हैं B. What do you want? | आप क्या चाहते हैं? C. Why have you come? | आप क्यों आये हैं? D. How may I help you? | मैं आपकी मदद कैसे कर सकता हूं? 65 / 75 Category: Employability Skill CBT Paper (I) 15. Time management………| समय प्रबंधन………। A. complete your task on time | अपना कार्य समय पर पूरा करें B. hard skill | कठिन कौशल C. problem solving | समस्या को सुलझाना D. managing time | प्रबंधन समय 66 / 75 Category: Employability Skill CBT Paper (I) 16. Which among these are not good manners while travelling by public transport? | इनमें से कौन सा सार्वजनिक परिवहन से यात्रा करते समय अच्छे शिष्टाचार नहीं हैं? A. Follow the instructions of the cabin manager. | केबिन मैनेजर के निर्देशों का पालन करें। B. Push back our seat without checking with the person on the back seat | पिछली सीट पर बैठे व्यक्ति से जाँच किए बिना हमारी सीट को पीछे धकेलें C. Be polite to fellow passengers and staff. | साथी यात्रियों और कर्मचारियों के प्रति विनम्र रहें। D. Speak in a low voice. | धीमी आवाज में बोलें। 67 / 75 Category: Employability Skill CBT Paper (I) 17. The way money is saved, spent and invested……..| जिस तरह से पैसा बचाया जाता है, खर्च किया जाता है और निवेश किया जाता है…….. A. income | आय B. salary | वेतन C. financial literacy | वित्तीय साक्षरता D. banking | बैंकिंग 68 / 75 Category: Employability Skill CBT Paper (I) 18. In an email, where will you add the recipient email address whom you want to send the copy of an email? | एक ईमेल में, आप प्राप्तकर्ता का ई-मेल एड्रेस (ईमेल का पता) कहां जोड़ेंगे, जिसे आप ईमेल की कॉपी भेजना चाहते हैं? A. Subject | सब्जेक्ट B. CC | सीसी C. Bcc | बीसीसी D. To | टू 69 / 75 Category: Employability Skill CBT Paper (I) 19. Which AI tool can explain grammar? | कौन सा एआई टूल व्याकरण समझा सकता है? A. Recorder | रेकॉर्डर B. Notepad | नोटपैड C. ChatGPT | चैटजीपीटी D. MS Paint | एमएस पेंट 70 / 75 Category: Employability Skill CBT Paper (I) 20. Debit card will have how many digit numbers? | डेबिट कार्ड में कितने अंकों की संख्या होगी? A. 16 B. 12 C. 18 D. 14 71 / 75 Category: Employability Skill CBT Paper (I) 21. Gesture “Brisk and erect walking” shows ________| "तेज और सीधा चलना" वाला हाव-भाव..................... दर्शाता है - A. defensiveness | डिफेंसिवनेस B. confidence | आत्मविश्वास C. insecurity | इनसिक्योरिटी D. boredom | बोरडम 72 / 75 Category: Employability Skill CBT Paper (I) 22. After receiving interview call, what is the next step? | साक्षात्कार कॉल प्राप्त करने के बाद, अगला कदम क्या है? A. Send resume | रिज्यूम भेजे B. Appear at interview | साक्षात्कार में में जाये C. Send application letter | आवेदन पत्र भेजें D. Prepare the resume | रिज्यूम तैयार करें 73 / 75 Category: Employability Skill CBT Paper (I) 23. Which one is 3P’s of public speaking? | पब्लिक स्पीकिंग की 3 P क्या है? A. Prepare, Practice, Perform | प्रीपेयर, प्रैक्टिस, परफॉर्म B. Perfection, Performance, Painstaking | परफेक्शन, परफॉरमेंस, पैंसटेकिंग C. Possess, Present, Practice | प्रोस्सेस, प्रेजेंट, प्रैक्टिस D. Publish, Pleasant, Perfect | पब्लिश, प्लीजेंट, परफेक्ट 74 / 75 Category: Employability Skill CBT Paper (I) 24. Which one is NOT a benefit of oral communication? | मौखिक संचार (ओरल कम्युनिकेशन) का कौन सा लाभ नहीं है? A. Feedback is immediate | फीडबैक इस इमीडियेट B. It is quick | इट इस क्विक C. It is for record | इट इस फॉर रिकॉर्ड D. It is direct | इट इस डायरेक्ट 75 / 75 Category: Employability Skill CBT Paper (I) 25. For short distance, which network type should be used? | छोटी दूरी के लिए, किस नेटवर्क प्रकार का उपयोग किया जाना चाहिए? A. CAN | केन B. LAN | लेन C. WAN | वेन D. MAN | मेन Your score isThe average score is 15% 0% Restart quiz Exit Trade Theory Employability Skill Workshop Calculation & Science Engineering Drawing Welder CBT Paper WhatsApp और YouTube चैनल से जुड़े ↓ Facebook Instagram Youtube Whatsapp अत्यधिक चर्चा में Sample NCVT CTS 6 Month Trade Exam 2026 Schedule Released – Practical, CBT Exam Date, Hall Ticket & Result | ITI Ke Gyani Bihar ITI Admission 2026: ITICAT 2026 आवेदन प्रक्रिया, पात्रता, परीक्षा तिथि, फीस और काउंसलिंग की पूरी जानकारी SIDH Portal पर Instructor Registration कैसे करें 2026 | NIMS System, ITSU Mapping, Timeline और DGT के नए नियम अंबेडकर नगर वृहद रोजगार मेला 2026: युवाओं के लिए सुनहरा अवसर | Direct Placement Drive झांसी वृहद रोजगार मेला 2026: युवाओं के लिए सुनहरा अवसर | Direct Placement Drive