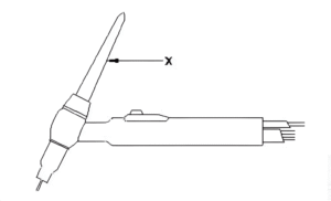
Welder CBT Paper – Free Practice Set -03By itikegyani.com / May 15, 2025 /75 7 यह पेपर 2 घंटे का है 2 घंटे बाद पेपर अपने आप सबमिट हो जायेगा और आप चाहें तो 2 घंटे से पहले भी सबमिट कर सकते है| पेपर देने के लिए आपको हमारी वेबसाइट पर login करना अनिवार्य है| सॉरी समय समाप्त हो गया| Welder CBT Paper (Quiz - 03) इस पेपर में 75 प्रशन है जिसमे Trade Tehory के 38 प्रशन, Workshop Calculation and Science के 06 प्रशन, Engineering Drawing के 06 प्रशन, Employability Skill के 25 प्रशन , प्रत्येक प्रशन 2 मार्क्स का है और किसी प्रकार की नेगेटिव मार्किंग नहीं है| 1 / 75 Category: Engineering Drawing CBT Paper (I) 1. Identify the name of tool?/ उपकरण का नाम पहचानें? A. Straight pein hammer / सीधे पीन हथौड़ा B. Cross pein hammer / क्रॉस पीन हैमर C. Sledge hammer / स्लेज हैमर D. Ball pein hammer / बॉल पीन हैमर 2 / 75 Category: Engineering Drawing CBT Paper (I) 2. Isndimension correctly marked in the circle as per standard?/ मानक के अनुसार सर्कल में क्या आयाम सही ढंग से चिह्नित है? A. No / नहीं B. Yes / हाँ 3 / 75 Category: Engineering Drawing CBT Paper (I) 3. Identify the name of tool?/ उपकरण का नाम पहचानें? A. Mallet / लकड़ी का हथौड़ा B. Ball pein hammer / बॉल पीन हैमर C. Cross pein hammer / क्रॉस पीन हैमर D. Staright pein hammer / स्ट्रेट पीन हैमर 4 / 75 Category: Engineering Drawing CBT Paper (I) 4. Which drawing dimension is correct as per IS standard? | IS मानक के अनुसार कौन सा ड्राइंग आयाम सही है? A. Option A | विकल्प A B. Option C | विकल्प C C. Option D | विकल्प D D. Option B | विकल्प B 5 / 75 Category: Engineering Drawing CBT Paper (I) 5. Identify the conventional symbol of material? | सामग्री के पारंपरिक प्रतीक को पहचानें? A. Porcelain | चीनी मिटटी B. Lead | लेड C. Glass | कांच D. Steel | स्टील 6 / 75 Category: Engineering Drawing CBT Paper (I) 6. Identify the name of tool?/ उपकरण का नाम पहचानें? A. Try square / बढ़ई की गुनिया B. Feeler gauge / फ़ीलर गौज़ C. Steel rule / स्टील रूल D. Surface gauge / सतह नापने का यंत्र 7 / 75 Category: Employability Skill CBT Paper (I) 1. The way money is saved, spent and invested……..| जिस तरह से पैसा बचाया जाता है, खर्च किया जाता है और निवेश किया जाता है…….. A. income | आय B. salary | वेतन C. financial literacy | वित्तीय साक्षरता D. banking | बैंकिंग 8 / 75 Category: Employability Skill CBT Paper (I) 2. Fill in the blank with comparative adjective. “Your pencil is__________ than mine” | तुलनात्मक विशेषण के साथ रिक्त स्थान भरें। “Your pencil is__________ than mine” A. sharp | शार्प B. blunt | ब्लंट C. thick | थिक D. sharper | शार्पेर 9 / 75 Category: Employability Skill CBT Paper (I) 3. The ability to do is ______ | ...... करने की क्षमता है। A. Experience | अनुभव B. Job | काम C. Skill | कौशल D. Knowledge | ज्ञान 10 / 75 Category: Employability Skill CBT Paper (I) 4. How do successful people handle failure? | सफल लोग असफलता को कैसे संभालते हैं? A. They give up their ambitions | वे अपनी महत्वाकांक्षाओं को त्याग देते हैं। B. They learn from their mistakes | वे अपनी गलतियों से सीखते हैं। C. They get demotivated | वे डिमोटिवेट हो जाते हैं। D. They blame others | वे दूसरों को दोष देते हैं। 11 / 75 Category: Employability Skill CBT Paper (I) 5. Which of these statements is true? | इनमें से कौन सा कथन सत्य है? A. All jobs are available in all cities. | सभी नौकरियां सभी शहरों में उपलब्ध हैं। B. Only a few cities have job opportunities. | कुछ ही शहरों में रोजगार के अवसर हैं। C. Salary in metro cities is always higher than small towns | मेट्रो शहरों में वेतन हमेशा छोटे शहरों की तुलना में अधिक होता है D. Some cities have more opportunities than others for certain job roles. | कुछ शहरों में कुछ नौकरियों के लिए दूसरों की तुलना में अधिक अवसर होते हैं। 12 / 75 Category: Employability Skill CBT Paper (I) 6. The expansion of RAM is __________| "RAM" का विस्तार है - A. Read Access Memory | रीड एक्सेस मेमोरी B. Read Octet Machine | रीड ओकटेट मशीन C. Random Access Memory | रैंडम एक्सेस मेमोरी D. Random Access Machine | रैंडम एक्सेस मशीन 13 / 75 Category: Employability Skill CBT Paper (I) 7. Fill in the blank with proper pronoun. “She made this cake ___________” | रिक्त स्थान में उचित सर्वनाम के साथ भरें। “She made this cake ___________” A. myself | माइसेल्फ B. herself | हरसेल्फ C. itself | इटसेल्फ D. himself | हिम्सेल्फ़ 14 / 75 Category: Employability Skill CBT Paper (I) 8. Someone is treated differently on their skin colour, income _______| किसी की त्वचा के रंग, आय को लेकर अलग तरह से व्यवहार किया जाता है….। A. nature | प्रकृति B. discrimination | विभेद C. correct | सही D. unity | एकता 15 / 75 Category: Employability Skill CBT Paper (I) 9. What is a shortcut key for “Copy” command?| "कॉपी" कमांड के लिए शॉर्टकट की (कुंजी) क्या है? A. Ctrl + C | कंट्रोल + C B. Ctrl + A | कंट्रोल +A C. Ctrl + V | कंट्रोल +V D. Ctrl + X | कंट्रोल + X 16 / 75 Category: Employability Skill CBT Paper (I) 10. Paid form of ideas, goods and services are called............. | विचारों, वस्तुओं और सेवाओं के पैड फॉर्म को ............ कहा जाता है। A. publicity | प्रचार B. public relation | जन संपर्क C. Advertisement | विज्ञापन D. goodwill | साख 17 / 75 Category: Employability Skill CBT Paper (I) 11. What is the default name of newly created folder in windows?| विंडोज़ में बनाए गए नए फ़ोल्डर का डिफ़ॉल्ट नाम क्या होता है? A. Blank | ब्लैंक B. New folder | न्यू फोल्डर C. New | न्यू D. Folder | फ़ोल्डर 18 / 75 Category: Employability Skill CBT Paper (I) 12. Which is a silent letter in the word “ANSWER”? | “ANSWER” शब्द में कौन सा मूक अक्षर है? A. W | डब्लू B. E | इ C. S | एस D. R | एर 19 / 75 Category: Employability Skill CBT Paper (I) 13. To grow yourself you must ______| अपने आप को विकसित करने के लिए आपको चाहिए ……। A. know yourself | खुद को जानें B. know your institute | अपने संस्थान को जानें C. know your country | अपने देश को जानो D. know your office | अपने कार्यालय को जानें 20 / 75 Category: Employability Skill CBT Paper (I) 14. Which one is the latest and effective means of modern communication? | आधुनिक संचार का नवीनतम और प्रभावी साधन कौन सा है? A. Message through TV | टीवी के माध्यम से संदेश B. Postal mail | डाक मेल C. Electronic mail | इलेक्ट्रॉनिक मेल D. Fax | फैक्स 21 / 75 Category: Employability Skill CBT Paper (I) 15. Probing questions helps you ______ | जांच करने वाले प्रश्न आपकी मदद करते हैं… A. Building trust so you can receive honest feedback. | विश्वास का निर्माण करें ताकि आप ईमानदार प्रतिक्रिया प्राप्त कर सकें। B. To introduce yourself well to the customer. | ग्राहक को अपना परिचय अच्छे से देना। C. To learn customer's pain point | ग्राहक के दर्द बिंदु जानने के लिए D. To identify customer's specific needs | ग्राहक की विशिष्ट आवश्यकताओं की पहचान करने के लिए 22 / 75 Category: Employability Skill CBT Paper (I) 16. What is the meaning of an entry level job? | एंट्री लेवल जॉब का क्या मतलब है? A. It helps to enter the office | यह कार्यालय में प्रवेश करने में मदद करता है B. Security guard | सुरक्षा प्रहरी C. It is a starting or junior level job | यह एक शुरुआती या जूनियर स्तर की नौकरी है D. Junior interior designer | जूनियर इंटीरियर डिजाइनर 23 / 75 Category: Employability Skill CBT Paper (I) 17. MSME stands for _______ | MSME का अर्थ है ………….. A. Micro, Small and Medium Enterprises | सूक्ष्म, छोटे और मध्यम उद्यम B. Macro, Small and Medium Enterprises | मैक्रो, छोटे और मध्यम उद्यम C. Micro, Scale and Medium Enterprises | सूक्ष्म, स्केल और मध्यम उद्यम D. Minor, Small and Medium Enterprises | लघु, छोटे और मध्यम उद्यम 24 / 75 Category: Employability Skill CBT Paper (I) 18. Which one is considered to be a good communication? | कौन सा एक अच्छा संचार माना जाता है? A. Receiver doesn’t listen to sender | प्राप्तकर्ता प्रेषक की नहीं सुनना B. Message is ambiguous | संदेश अस्पष्ट है| C. Sender is positive towards receiver | रिसीवर के प्रति प्रेषक सकारात्मक है D. Sender attacks receiver | प्रेषक का रिसीवर पर हमला करना 25 / 75 Category: Employability Skill CBT Paper (I) 19. Which one is NOT a benefit of oral communication? | मौखिक संचार (ओरल कम्युनिकेशन) का कौन सा लाभ नहीं है? A. It is direct | इट इस डायरेक्ट B. It is quick | इट इस क्विक C. Feedback is immediate | फीडबैक इस इमीडियेट D. It is for record | इट इस फॉर रिकॉर्ड 26 / 75 Category: Employability Skill CBT Paper (I) 20. Which one of the following is a describing word?| निम्नलिखित में से कौन-सा एक वर्णनात्मक शब्द है? A. hot | गरम B. repair | मरम्मत C. soup | शोरबा D. eat | खाना खा लो 27 / 75 Category: Employability Skill CBT Paper (I) 21. Where all deleted files will be stored? | सभी डिलीट की गयी फ़ाइलें कहाँ स्टोर (संग्रहीत) की जाएंगी? A. CD | सीडी B. Recycle bin | रीसायकल बिन C. Official folder | ऑफिसियल (आधिकारिक) फ़ोल्डर D. Personal folder | पर्सनल (व्यक्तिगत) फ़ोल्डर 28 / 75 Category: Employability Skill CBT Paper (I) 22. Fill in the blank with suitable adjective for the given sentence “The little girl’s…… eyes revealed her mischief” | दिए गए वाक्य के लिए उपयुक्त विशेषण के साथ रिक्त स्थान भरें “The little girl’s…… eyes revealed her mischief” A. short sighted | शोर्ट साईंटेड B. weak | वीक C. Chubby | चुब्बय D. twinkling | ट्विंकलिंग 29 / 75 Category: Employability Skill CBT Paper (I) 23. People from all religions or no religions are treated equally means…… | सभी धर्मों या किसी भी धर्म के लोगों के साथ समान व्यवहार नहीं किया जाता है ……सेक्युलर देश A. democratic | जनतांत्रिक B. religious | धार्मिक C. non secular | गैर धर्मनिरपेक्ष D. secular country | धर्मनिरपेक्ष देश 30 / 75 Category: Welder CBT Paper (TT) 1. Which type of arc length produces deep penetration weld? | किस प्रकार की आर्क की लंबाई गहरी पेनेंट्रेशन वेल्ड पैदा करती है? A. Long arc length | लॉन्ग आर्क लेंथ B. Short arc length | शॉर्ट आर्क लेंथ C. Too long arc length | टू लॉन्ग आर्क लेंथ D. Medium arc length | मीडियम आर्क लेंथ 31 / 75 Category: Welder CBT Paper (TT) 2. Which cast iron is soft? | कौन सा कास्ट आयरन मुलायम होता है? A. Malleable cast iron | मेलीऐबल कास्ट आयरन B. Nodular cast iron | नोडुलर कास्ट आयरन C. Grey cast iron | ग्रे कास्ट आयरन D. White cast iron | व्हाइट कास्ट आयरन 32 / 75 Category: Welder CBT Paper (TT) 3. What is the angle of filler rod, by rightward welding? | राईटवर्ड वेल्डिंग द्वारा फिलर रॉड का कोण क्या होना चाहिए? A. 30° - 40° B. 60° - 70° C. 40° - 50° D. 50° - 60° 33 / 75 Category: Welder CBT Paper (TT) 4. What is the name of the part marked as ‘X’shown in the figure? | चित्र में दिखाए गए ‘X’ से चिह्नित भाग का नाम क्या है? A. Laser beam | लेजर बीम B. Cooling system | कुलिंग सिस्टम C. Ruby rod | रूबी रॉड D. Flash lamp | फ़्लैश लैंप 34 / 75 Category: Welder CBT Paper (TT) 5. What is the name of the part marked 'X' shown the in figure? | चित्र में दर्शाए गए 'X' चिन्हित भाग का क्या नाम है? A. Oxygen outlet | ऑक्सीजन आउटलेट B. Body support | बॉडी सपोर्ट C. Safety valve | सेफ़्टी वाल्व D. Outer casing | आउटर केसिंग 35 / 75 Category: Welder CBT Paper (TT) 6. Which gas has a higher thermal heat conductivity than argon? | आर्गन की तुलना में किस गैस की थर्मल ऊष्मा चालकता अधिक होती है? A. Acetylene | एसिटिलीन B. Oxygen | ऑक्सीजन C. Helium | हीलियम D. Carbon di oxide | कार्बन डाईऑक्साइड 36 / 75 Category: Welder CBT Paper (TT) 7. What is the name of the process is shown in the figure? | चित्र में दिखाई गई प्रक्रिया का नाम क्या है? A. Metallizing | मेटलाइजिंग B. Hard facing | हार्ड फेसिंग C. Powder flame spraying | पाउडर लौ स्प्रेईंग D. Rod flame spraying | रॉड लौ स्प्रेईंग 37 / 75 Category: Welder CBT Paper (TT) 8. What is the name marked as 'X' shown in the figure? | आकृति में दिखाए गए 'X' से चिह्नित नाम क्या है? A. Weld position | वेल्ड स्थिति B. Line of root | रूट की रेखा C. Weld slope | वेल्ड ढलान D. Weld rotation | वेल्ड रोटेशन 38 / 75 Category: Welder CBT Paper (TT) 9. Which type of arc cutting is shown in the figure? | चित्र में किस प्रकार का आर्क कटिंग दर्शाया गया है? A. Metal arc | मेटल आर्क B. Carbon arc | कार्बन आर्क C. Oxygen arc | ऑक्सीजन आर्क D. Plasma arc | प्लाज्मा आर्क 39 / 75 Category: Welder CBT Paper (TT) 10. Which safety device is used to protect face from ultra-violet rays while welding? | वेल्डिंग करते समय अल्ट्रा-वायलेट किरणों से चेहरे की रक्षा के लिए किस सुरक्षा उपकरण का उपयोग किया जाता है? A. Apron | एप्रन B. Hand shield | हैंड शील्ड C. Plain goggles | प्लेन गॉगल्स D. Flash back arrestor | फ़्लैश बैक एरेस्टर 40 / 75 Category: Welder CBT Paper (TT) 11. At which temperature the liquid oxygen becomes solid? | किस तापमान पर द्रव ऑक्सीजन ठोस हो जाती है? A. -325.3°C B. -218.4°C C. -205°C D. -200°C 41 / 75 Category: Welder CBT Paper (TT) 12. Which one of the defect is caused by low current in arc welding? | आर्क वेल्डिंग में कम कंरट के कारण कौन सा दोष होता है? A. Lack of fusion | फ्यूजन की कमी B. Porosity | पोरोसिटी C. Under cut | अंडर कट D. Excessive penetration | अत्यधिक पेनेट्रेशन 42 / 75 Category: Welder CBT Paper (TT) 13. What is the name of the circuit shown in the figure? | चित्र में दिखाए गए सर्किट का नाम क्या है? A. Open circuit | ओपन सर्किट B. Arc voltage |आर्क वोल्टेज C. Reversed circuit | रिवर्स सर्किट D. Closed circuit | क्लोज्ड सर्किट 43 / 75 Category: Welder CBT Paper (TT) 14. What is the cause of hair line separation in the bead in arc welding? | आर्क वेल्डिंग में बीड में हेयर लाइन का अलग होने का कारण क्या है? A. Fast cooling | तेज़ ठंडा होना B. Slow cooling | धीमी गति से ठंडा होना C. Wrong selection of electrode | इलेक्ट्रोड का गलत चयन D. Long arc length | लॉन्ग आर्क लेंथ 44 / 75 Category: Welder CBT Paper (TT) 15. Which welding steel wool is used? | किस वेल्डिंग स्टील वूल का उपयोग किया जाता है? A. GTAW | जीटीएडब्लू B. SAW | एसएडब्लू C. GMAW | जीएमएडब्लू D. MMAW | एमएमएडब्ल्यू 45 / 75 Category: Welder CBT Paper (TT) 16. How many types of basic welding positions in GMA welding? | GMA वेल्डिंग में बेसिक वेल्डिंग पोजीशन के कितने प्रकार हैं? A. 2 types | 2 टाइप्स B. 3 types | 3 टाइप्स C. 5 types | 5 टाइप्स D. 4 types | 4 टाइप्स 46 / 75 Category: Welder CBT Paper (TT) 17. Which wire brush is used to clean ferrous metals? | लौह धातुओं को साफ करने के लिए किस वायर ब्रश का उपयोग किया जाता है? A. Stainless steel | स्टेनलेस स्टील B. Carbon steel | कार्बन स्टील C. Low carbon steel | लो कार्बन स्टील D. Mild steel | माइल्ड स्टील 47 / 75 Category: Welder CBT Paper (TT) 18. What is the name of the part marked as 'X' shown in the figure? | चित्र में दिखाए गए 'X' से चिह्नित भाग का नाम क्या है? A. Nozzle | नोजल B. Collet holder | कोलेट होल्डर C. Cap | टोपी D. Collet | कोलिट 48 / 75 Category: Welder CBT Paper (TT) 19. Which cast iron possess higher hardness? | किस कास्ट आयरन की कठोरता अधिक होती है? A. Grey cast iron | ग्रे कास्ट आयरन B. Malleable cast iron | मेलीऐबल कास्ट आयरन C. White cast iron | व्हाइट कास्ट आयरन D. Nodular cast iron | नोडुलर कास्ट आयरन 49 / 75 Category: Welder CBT Paper (TT) 20. What is the angle of cutting nozzle with the body? | बॉडी के साथ कटिंग नोजल का कोण क्या है? A. 60° B. 45° C. 120° D. 90° 50 / 75 Category: Welder CBT Paper (TT) 21. How many equal divisions should be made while developing a “T” pipe joint? | एक "T" पाइप जॉइंट विकसित करते समय कितने समान विभाजन किए जाना चाहिए? A. 9 equal divisions | 9 बराबर विभाजन B. 12 equal divisions | 12 बराबर विभाजन C. 4 equal divisions | 4 बराबर विभाजन D. 6 equal divisions | 6 बराबर विभाजन 51 / 75 Category: Welder CBT Paper (TT) 22. What is the purpose of normalising? | सामान्यीकरण का उद्देश्य क्या है? A. To prevent cracking | क्रैकिंग को रोकने के लिए B. To control hardness | कठोरता को नियंत्रित करने के लिए C. Grain uniform grain structure | ग्रेन यूनिफार्म ग्रेन स्ट्रक्चर D. Welding operation easier | वेल्डिंग ऑपरेशन आसान 52 / 75 Category: Welder CBT Paper (TT) 23. What is the full form of OAW? | OAW का पूर्ण रूप क्या है? A. Oxy - Acetylene Coal Welding | ऑक्सी-एसिटिलीन कोयला वेल्डिंग B. Oxy - Air Acetylene Welding | ऑक्सी - एयर एसिटिलीन वेल्डिंग C. Oxy - Acetylene hydrogen Welding | ऑक्सी - एसीटिलीन हाइड्रोजन वेल्डिंग D. Oxy - Acetylene Welding | ऑक्सी-एसिटिलीन वेल्डिंग 53 / 75 Category: Welder CBT Paper (TT) 24. What is name of the manifold system, if 3 or more cylinder are coupled together? | यदि 3 या अधिक सिलेंडर एक साथ युग्मित हैं, तो मैनिफोल्ड सिस्टम का नाम क्या है? A. Multiple | विभिन्न B. Portable | पोर्टेबल C. Stationary | स्टेशनरी D. Series | सीरीज 54 / 75 Category: Welder CBT Paper (TT) 25. What are the main elements are found in stainless steel? | स्टेनलेस स्टील में कौन से मुख्य तत्व पाए जाते हैं? A. Iron, Chromium and Nickel | लोहा, क्रोमियम और निकल B. Zinc, Copper & Nickel | जिंक, कॉपर और निकल C. Tin, Zinc & Iron | टिन, जिंक और आयरन D. Zinc, Copper & Tin | जिंक, कॉपर और टिन 55 / 75 Category: Welder CBT Paper (TT) 26. What crystal (rod) is used in laser beam welding? | लेजर बीम वेल्डिंग में किस क्रिस्टल (रॉड) का उपयोग किया जाता है? A. Copper | कॉपर B. Stainless steel स्टेनलेस स्टील C. Iron | आयरन D. Ruby | रूबी 56 / 75 Category: Welder CBT Paper (TT) 27. What is the name of small metal particles which are thrown out of the arc during welding? | वेल्डिंग के दौरान आर्क से निकलने वाले छोटे धातु कणों का नाम क्या है? A. Slag | स्लैग B. Weld metal | वेल्ड मेटल C. Spatters | स्पैटर D. Stub end | स्टब एंड 57 / 75 Category: Welder CBT Paper (TT) 28. Which process can be easily weld thin metal? | कौन सी प्रक्रिया द्वारा पतली धातु को आसानी से वेल्ड किया जा सकता है? A. Tungsten arc welding | टंगस्टन आर्क वेल्डिंग B. MIG welding | MIG वेल्डिंग C. Submerged arc welding | सबमर्ज्ड आर्क वेल्डिंग D. Manual metal arc welding | मैनुअल मेटल आर्क वेल्डिंग 58 / 75 Category: Welder CBT Paper (TT) 29. What is the main purpose of the pipes used in petrochemical sector? | पेट्रोकेमिकल क्षेत्र में उपयोग किये जाने वाले पाइपों का मुख्य उद्देश्य क्या है? A. Transport gases | परिवहन गैसें B. Transport scrap | परिवहन स्क्रैप C. Transport sand | परिवहन रेत D. Transport metal | परिवहन धातु 59 / 75 Category: Welder CBT Paper (TT) 30. What is the necessity of alloying elements? | मिश्र धातु तत्वों की क्या आवश्यकता है? A. Improve mechanical properties | यांत्रिक गुणों में सुधार करें B. Improve physical properties | भौतिक गुणों में सुधार करें C. Improve chemical properties | रासायनिक गुणों में सुधार करें D. Improve corrosive properties | संक्षारक गुणों में सुधार करें 60 / 75 Category: Welder CBT Paper (TT) 31. Which gases are used as shielding gas in GTAW? | GTAW में परिरक्षण गैस के रूप में किन गैसों का उपयोग किया जाता है? A. Oxygen - Acetylene | ऑक्सीजन - एसिटिलीन B. Carbon oxide & Helium | कार्बन ऑक्साइड और हीलियम C. Argon & Helium | आर्गन और हीलियम D. Carbon dioxide & Argon | कार्बन डाइऑक्साइड और आर्गन 61 / 75 Category: Welder CBT Paper (TT) 32. Which gas is generally used in gas laser type welding? | गैस लेजर टाइप वेल्डिंग में आमतौर पर किस गैस का उपयोग किया जाता है? A. Argon gas | आर्गन गैस B. Neon gas | नियॉन गैस C. Carbon - di - oxide | कार्बन डाइऑक्साइड D. Oxygen | ऑक्सीजन 62 / 75 Category: Welder CBT Paper (TT) 33. What is the percentage of carbon in medium carbon steel? | मीडियम कार्बन स्टील में कार्बन का प्रतिशत कितना होता है? A. 0.05% to 0.8% B. 0.05% to 0.30% C. 0.6% to 1.2% D. 0.30% to 0.6% 63 / 75 Category: Welder CBT Paper (TT) 34. Which format is used to record the results of welding qualification? | वेल्डिंग योग्यता के परिणामों को रिकॉर्ड करने के लिए किस प्रारूप का उपयोग किया जाता है? A. Welding Procedure Qualification (WPQ) | वेल्डिंग प्रक्रिया योग्यता (WPQ) B. Procedure Qualification Record (PQR) | प्रक्रिया योग्यता रिकॉर्ड (PQR) C. Welder Procedure Specification (WPS) | वेल्डर प्रक्रिया विनिर्देश (WPS) D. Welder Performance Qualification (WPQ) | वेल्डर प्रदर्शन योग्यता (WPQ) 64 / 75 Category: Welder CBT Paper (TT) 35. What is the use of back strips and bars during welding? | वेल्डिंग के दौरान बैक स्ट्रिप्स और बार का क्या उपयोग है? A. To strengthen the job | जॉब को मजबूत करने के लिए B. To support the root pass | रूट पास का समर्थन करने के लिए C. To minimise the spatter | स्पैटर कम करने के लिए D. To minimise the Distortion and Contraction | विरूपण और संकुचन को कम करने के लिए 65 / 75 Category: Welder CBT Paper (TT) 36. What is the name of the part marked as 'X' shown in the figure? | चित्र में दिखाए गए 'X' से चिह्नित भाग का नाम क्या है? A. Contact tube | संपर्क ट्यूब B. Flux cored wire | फ्लक्स कोर्ड तार C. Slag covering | स्लैग कवरिंग D. Nozzle | नोजल 66 / 75 Category: Welder CBT Paper (TT) 37. In which method the core wire is dipped in a flux paste? | किस विधि में कोर वायर को फ्लक्स पेस्ट में डुबोया जाता है? A. Dipping | डिपिंग B. Extrusion | एक्सट्रूज़न C. Contraction | संकुचन D. Elongation | बढ़ाव 67 / 75 Category: Welder CBT Paper (TT) 38. What causes distortion? | विकृति का क्या कारण है? A. Dirty welding wire | गंदा वेल्डिंग तार B. Less welding | कम वेल्डिंग C. Apply pressure | दबाव लागाएं D. Excessive heat input | अत्यधिक ताप इनपुट 68 / 75 Category: Employability Skill CBT Paper (II) 1. Which one is a social networking site?| कौन एक सोशल नेटवर्किंग साइट है? A. Outlook express | आउटलुक एक्सप्रेस B. Face book | फेसबुक C. Mozilla | मोज़िला D. Lotus notes | लोटस नोट्स 69 / 75 Category: Employability Skill CBT Paper (II) 2. Which among the following is not an Online payment application? | निम्नलिखित में से कौन सा एक ऑनलाइन पेमेंट एप्लीकेशन नहीं है? A. Google Pay | गूगल Pay B. BHIM UPI | भीम यूपीआई C. Banking Applications | बैंकिंग एप्लिकेशन D. Instagram | इंस्टाग्राम 70 / 75 Category: Workshop Calculation and Science CBT Paper (I) 1. What are fundamental units?/ इनमे से मूलभूत इकाइयाँ कोन-कोनसी हैं? A. Length, Mass, Time / लंबाई, द्रव्यमान, समय B. Length, Mass, Volume / लंबाई, द्रव्यमान, आयतन C. Length, Mass, Area / लंबाई, द्रव्यमान, क्षेत्रफल D. Length, Pressure, Volume / लंबाई, दाब , आयतन 71 / 75 Category: Workshop Calculation and Science CBT Paper (I) 2. What is the boiling point of water? | पानी का क्वथनांक क्या होता है? A. 100°C | १००° सेल्सियस B. 0°C | 0° सेल्सियस C. 32°C | ३२° सेल्सियस D. 212°C | २१२ ° सेल्सियस 72 / 75 Category: Workshop Calculation and Science CBT Paper (I) 3. Which is the unit of resistance? | प्रतिरोध की इकाई क्या है? A. Ampere | एम्पियर B. Watt | वाट C. Ohm | ओम D. Volt | वोल्ट 73 / 75 Category: Workshop Calculation and Science CBT Paper (I) 4. What are the two classifications of system of units?/ इकाइयों की प्रणाली के दो प्रकार कोनसे हैं? A. Metric and International / मैट्रिक और इंटरनेशनल B. Fundamental and derived / मौलिक और व्युत्पन्न C. Gravitational and non-gravitational / गुरुत्वाकर्षण और गैर-गुरुत्वाकर्षण D. British and Metric / ब्रिटिश और मीट्रिक 74 / 75 Category: Workshop Calculation and Science CBT Paper (I) 5. What is termed as the quantity of matter contained in a body? | वस्तु में निहित पदार्थ की मात्रा को क्या कहा जाता है? A. Specific gravity | विशिष्ट गुरुत्व B. Density | घनत्व C. Volume | आयतन D. Mass | द्रव्यमान 75 / 75 Category: Workshop Calculation and Science CBT Paper (I) 6. Which is the unit of current? | धारा की इकाई क्या है? A. Ohm | ओम B. Watt | वाट C. Volt | वोल्ट D. Ampere | एम्पियर Your score isThe average score is 40% 0% Restart quiz Exit Trade Theory Employability Skill Workshop Calculation & Science Engineering Drawing Welder CBT Paper WhatsApp और YouTube चैनल से जुड़े ↓ Facebook Instagram Youtube Whatsapp अत्यधिक चर्चा में No posts found.